LEMON Manuals: Even more car manuals for everyone: 1960-2025
Home >> Mitsubishi >> 2012 >> Lancer Evolution MR >> Repair and Diagnosis >> External Pages >> Different variant/trim >> Section 71 (Hands Free Module - Lancer) >> Inspection >> Steering Wheel Voice-Control Switch Continuity Check >> Illumination Check
April 5, 2026: LEMON Manuals is launched! Read the announcement.

Illumination Check

WARNING: This page is about a different variant/trim than selected.
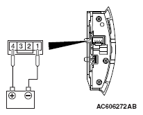
Fig 1: Applying Battery Voltage Of Steering Wheel Voice Control Switch Connector Terminal No. 4 And 1
G05896614Courtesy of MITSUBISHI MOTOR SALES OF AMERICA.

Apply the battery voltage of steering wheel voice control switch connector terminal No. 4 and 1, and check if the steering wheel audio remote control switch illuminates.

NOTE: Make sure that the polarity is correct.