LEMON Manuals: Even more car manuals for everyone: 1960-2025
Home >> Mitsubishi >> 2012 >> RVR ES >> Repair and Diagnosis (Single Page) >> Accessories & Equipment >> Anti-Theft Systems >> Keyless Operation System (Kos) >> General Information >> OSS (One-Touch Start System) >> One-Touch Start System Configuration
April 5, 2026: LEMON Manuals is launched! Read the announcement.

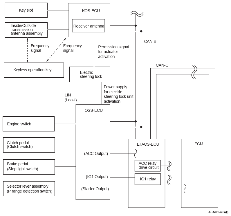
One-Touch Start System Configuration

Fig 1: One-Touch Start System Configuration
G07048740Courtesy of MITSUBISHI MOTOR SALES OF AMERICA.