LEMON Manuals: Even more car manuals for everyone: 1960-2025
Home >> Mitsubishi >> 2013 >> Lancer SE >> Repair and Diagnosis >> External Pages >> Different variant/trim >> Section 16 (Combination Meter - Lancer Evolution) >> On-Vehicle Service >> Fuel Level Sensor Check >> Fuel Level Sensor Float Height
April 5, 2026: LEMON Manuals is launched! Read the announcement.

Fuel Level Sensor Float Height

WARNING: This page is about a different variant/trim than selected.
  1. Remove the fuel pump module (Refer to FUEL TANK ).
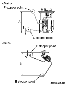
  2. When float is moved to contact the float arm on the stopper, ensure that stopper positions "F" (height A) and "E" (height B) are within the standard value.

    Standard value:

    FLOAT POSITION CHART

    Float position Float height [mm (in)]
    Main Sub
    Stopper position "F" (height A) 140.9 (5.5) 14.2 ± 3.0 (0.5 ± 0.1)
    Stopper position "E" (height B) 39.1 (1.5) 179.3 ± 3.0 (7.0 ± 0.1)
    Fig 1: Fuel Level Sensor Float Height
    G05396749Courtesy of MITSUBISHI MOTOR SALES OF AMERICA.