LEMON Manuals: Even more car manuals for everyone: 1960-2025
Home >> Mitsubishi >> 2014 >> Lancer Evolution GSR >> Repair and Diagnosis >> External Pages >> Different car >> Section 15 (Ignition System - Lancer Evolution) >> Ignition System >> General Information >> System Diagram
April 5, 2026: LEMON Manuals is launched! Read the announcement.

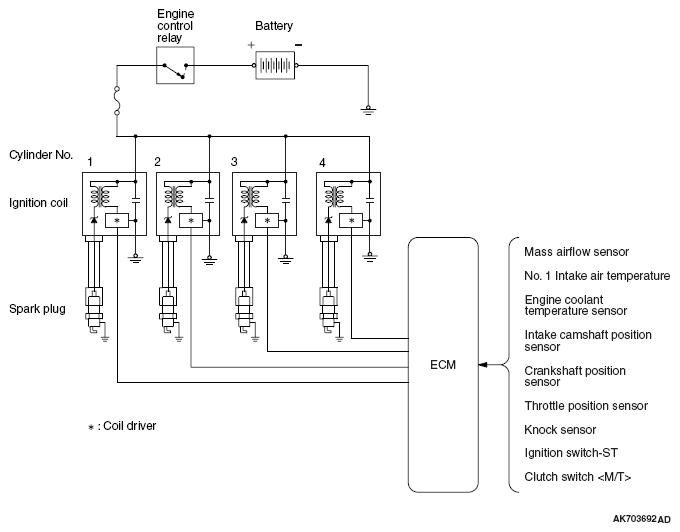
System Diagram

WARNING: This page is about a different car, the 2008 Mitsubishi Lancer. However, it is still accessible from the selected car via links, so may be relevant.
Fig 1: Ignition System Circuit Diagram
G05393751Courtesy of MITSUBISHI MOTOR SALES OF AMERICA.