LEMON Manuals: Even more car manuals for everyone: 1960-2025
Home >> Mitsubishi >> 2014 >> Lancer Evolution MR >> Repair and Diagnosis >> External Pages >> Different car >> Section 69 (Front Axle) >> Front Axle Hub Assembly >> Disassembly And Assembly >> Assembly Service Points >> >> A << Wheel Bearing Installation
April 5, 2026: LEMON Manuals is launched! Read the announcement.

>> A << Wheel Bearing Installation

WARNING: This page is about a different car, the 2014 Mitsubishi Outlander. However, it is still accessible from the selected car via links, so may be relevant.
CAUTION:
  • The magnetic encoder for wheel speed sensor is installed in the wheel bearing. Install the wheel bearing so that the encoder is positioned in the direction shown in the figure.
  • When press-fit the wheel bearing, push the outer race.
  • After press-fit the wheel bearing, wipe off the extra grease in order not to remain on the magnetic encoder.
  1. Remove grease and foreign material cleanly from the inside of knuckle bore.
  2. Apply the specified grease thinly and evenly to the inside of knuckle as shown in the figure.

    Specified grease: Dowcorning/Molykote BR2 Plus Amount to use: as required {1.0 - 1.5 g (0.04 - 0.05 ounce)} 

    Fig 1: Identifying Driveshaft, Knuckle, Oil Seal, Encoder And Hub
    G09665652Courtesy of MITSUBISHI MOTOR SALES OF AMERICA.
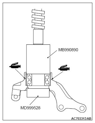
  3. Use special tools MD999528 and MB990890 to press-fit the wheel bearing.
  4. Remove excessive grease seeped out between knuckle and wheel bearing outer race after press-fitting the wheel bearing.
    Fig 2: Identifying Grease Applying Area Inside Knuckle
    G09665653Courtesy of MITSUBISHI MOTOR SALES OF AMERICA.