LEMON Manuals: Even more car manuals for everyone: 1960-2025
Home >> Mitsubishi >> 2014 >> Outlander ES >> Repair and Diagnosis >> Engine Performance >> Fuel Delivery >> Fuel Supply System >> Fuel Tank >> Disassembly And Assembly >> Fuel Pump Module
April 5, 2026: LEMON Manuals is launched! Read the announcement.

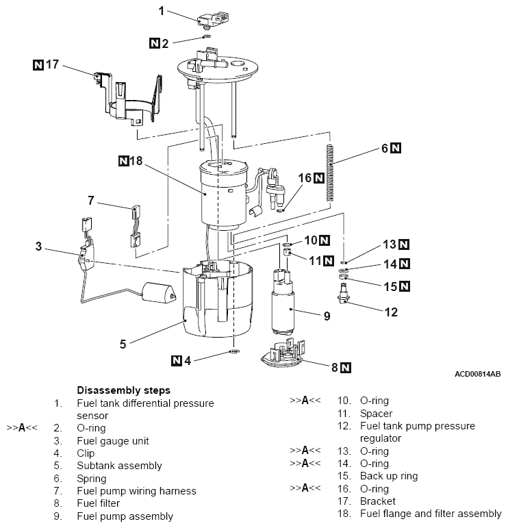
Fuel Pump Module

NOTE: For installation and removal, refer to FUEL PUMP MODULE REPLACEMENT .
Fig 1: Disassembling/Assembling Fuel Pump Module With Torque Specification - FWD
G09664592Courtesy of MITSUBISHI MOTOR SALES OF AMERICA.
Fig 2: Disassembling/Assembling Fuel Pump Module With Torque Specification - AWD
G09664593Courtesy of MITSUBISHI MOTOR SALES OF AMERICA.