LEMON Manuals: Even more car manuals for everyone: 1960-2025
Home >> Mitsubishi >> 2014 >> RVR ES >> Repair and Diagnosis (Single Page) >> Transmission >> Manual Trans >> Manual Transaxle Overhaul >> Select Lever >> Disassembly And Assembly >> Notes
April 5, 2026: LEMON Manuals is launched! Read the announcement.

Disassembly And Assembly: Notes

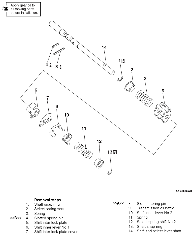
Fig 1: Exploded View Of Select Lever
G09669590Courtesy of MITSUBISHI MOTOR SALES OF AMERICA.