LEMON Manuals: Even more car manuals for everyone: 1960-2025
Home >> Mitsubishi >> 2015 >> Lancer Evolution Final Edition >> Repair and Diagnosis (Single Page) >> Drivelines & Axles >> Wheel Hubs >> Rear Axle - AWD - Lancer >> Differential Carrier Assembly >> LSD Case Assembly Disassembly And Assembly >> Assembly Service Points >> LSD Differential Torque Check
April 5, 2026: LEMON Manuals is launched! Read the announcement.

LSD Differential Torque Check

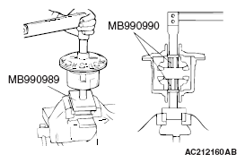
  1. Use the following special tools to check for differential torque.
    • Base (MB990989)
    • Tool A (MB990990)

      Standard value: 

      (When a new clutch plate is used): 

      2. 1 - 2.9 N.m (18.6 - 25.7 in-lb) 

      (When the current clutch plate is reused): 

      2. 1 - 2.9 N.m (18.6 - 25.7 in-lb) 

    NOTE: Before measuring the differential torque, first turn the gears so they snug each other, then take measurements during rotation.
    Fig 1: Checking LSD Differential Torque
    G05904462Courtesy of MITSUBISHI MOTOR SALES OF AMERICA.
  2. If the measurement falls outside the specified range, disassemble the differential case assembly and repair or replace defective parts.