LEMON Manuals: Even more car manuals for everyone: 1960-2025
Home >> Mitsubishi >> 2015 >> Lancer Evolution Final Edition >> Repair and Diagnosis >> External Pages >> Different variant/trim >> Section 36 (Basic Brake System - Lancer Evolution) >> On-Vehicle Service >> Brake Disc Check >> Brake Disc Run-Out Check And Correction
April 5, 2026: LEMON Manuals is launched! Read the announcement.

Brake Disc Run-Out Check And Correction

WARNING: This page is about a different variant/trim than selected.
  1. Check for wheel bearing looseness in the axial direction (Refer to WHEEL BEARING END PLAY CHECK <Front> or WHEEL BEARING END PLAY CHECK < Rear).
  2. If the end play is within the limit value, secure the brake disc by tightening the nut (M12x1.5) evenly to the specified torque [100 N.m (74 ft-lb)]. If the end play still exceeds the limit value, replace the wheel bearing. Then secure the brake disc by tightening the nut (M12x1.5) evenly to the specified torque [100 N.m (74 ft-lb)].
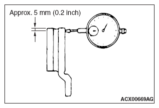
  3. Place a dial gauge ca. 5 mm (0.2 inch) inward from the circumference of the brake disc to measure its run-out.

    Limit: 

    0.06 mm (0.0024 inch) < Front > 

    0.08 mm (0.0032 inch) < Rear > 

  4. If the brake disc run-out exceeds the limit value, rephase the brake disc to the hub so that the minimum brake disc run-out is obtained.
    Fig 1: Checking Brake Disc Run-Out
    G09650787Courtesy of MITSUBISHI MOTOR SALES OF AMERICA.
    CAUTION:
    • Insert M12 plain washer and then install the adapter as shown in the illustration before grinding. Failure to use the M12 plain washer will cause the brake disc to be deformed and ground incorrectly.
    • To grind the brake disc, ensure that all the nuts (M12 X 1.5) are tightened evenly and in a diagonal sequence to the specified torque [100 N.m (74 ft-lb)]. Failure to use all the nuts (M12x1.5), excessive or uneven tightening torque will cause the brake disc to deform or shudder.
  5. If the brake disc run-out exceeds the limit value after rephasing, grind the disc while in place on the vehicle so that the brake disc run-out is within the limit value.
    NOTE: If it is suspected that the brake disc thickness will be below the limit value, replace the brake disc. Then rephase the brake disc so that the minimum brake disc run-out is obtained, or grind the disc while in place on the vehicle so that its run-out is below the limit value.
    Fig 2: Flat Washers
    G09650788Courtesy of MITSUBISHI MOTOR SALES OF AMERICA.