LEMON Manuals: Even more car manuals for everyone: 1960-2025
Home >> Mitsubishi >> 2015 >> Lancer Evolution Final Edition >> Repair and Diagnosis >> External Pages >> Different variant/trim >> Section 38 (Engine Mechanical - Lancer Evolution) >> Timing Chain >> Removal And Installation >> Installation Service Points >> >> D << Timing Chain Case Assembly Installation
April 5, 2026: LEMON Manuals is launched! Read the announcement.

>> D << Timing Chain Case Assembly Installation

WARNING: This page is about a different variant/trim than selected.
CAUTION:
  • Be sure to remove the sealant remaining in the mounting hole, O-ring groove, and gap between parts.
  • After degreasing with degreasing agent, check that there is no oil on the surface where the sealant is applied.
  • After degreasing with degreasing agent, never touch the degreased area with fingers.
  1. Remove sealant from the timing chain case assembly and the timing chain case assembly mounting surface of the cylinder block and the cylinder head, and degrease the surface where the sealant is applied.
  2. Remove all the sealant adhering to the gasket between the cylinder head and cylinder block (three-surface aligned part.) Then, degrease the surfaces.
  3. As for the three-surface aligned part that is indicated in Step  2 above, the engine oil oozes from the cylinder head gasket. Thus, quickly apply the sealant to it after degreasing.
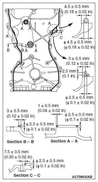
  4. To the timing chain case assembly mating surface, apply the sealant with a width of 2.5 ± 0.5 mm (0.1 ± 0.02 inch) and without a gap. However, with the "A" shown in the illustration, apply the sealant with overlapping the diameter of 4.5 ± 0.5 mm (0.18 ± 0.02 inch) or 2.5 ± 0.5 mm (0.1 ± 0.02 inch) as shown in the illustration.

    Specified sealant: Three bond 1217G or equivalent 

    CAUTION:
    • If the sealant contacts any other part during installation of the timing chain case assembly, apply sealant again before installing the timing chain case assembly.
    • After the installation, until a sufficient period of time (one hour or more) elapses, do not apply the oil or water to the sealant application area or start the engine.
  5. Install the timing chain case assembly to the cylinder block and cylinder head so that the sealant does not contact other parts.
    NOTE: Install the timing chain case assembly immediately after applying sealant.
    Fig 1: Timing Chain Case Assembly Mating Surface Sealant Applying Area
    G09639777Courtesy of MITSUBISHI MOTOR SALES OF AMERICA.
  6. To the installation positions shown in the illustration, tighten the timing chain case assembly mounting bolts to the specified torque shown below.
    Bolt (symbol) Thread diameter x Length mm Tightening torque
    Flange bolt (A) M6 x 25 10 ± 2 N.m (89 ± 17 in-lb)
    Flange bolt (B) M8 x 28 24 ± 4 N.m (18 ± 2 ft-lb)
    Bolt (C) M6 x 25 10 ± 2 N.m (89 ± 17 in-lb)
    Fig 2: Timing Chain Case Assembly Mounting Bolts Tightening Sequence
    G09639778Courtesy of MITSUBISHI MOTOR SALES OF AMERICA.