LEMON Manuals: Even more car manuals for everyone: 1960-2025
Home >> Mitsubishi >> 2015 >> Lancer Evolution Final Edition >> Repair and Diagnosis >> External Pages >> Different variant/trim >> Section 40 (Engine Overhaul - Lancer Evolution) >> Piston And Connecting Rod >> Removal And Installation >> Installation Service Points >> >> A << Piston Pin Installation
April 5, 2026: LEMON Manuals is launched! Read the announcement.

>> A << Piston Pin Installation

WARNING: This page is about a different variant/trim than selected.
  1. When replacing a piston, check the cylinder bore size mark stamped on the illustrated position of the cylinder block and select a corresponding piston from the table below.
    Cylinder bore size mark Piston size mark
    A A
    B B or none
    C C
    Fig 1: Cylinder Bore Size Mark Stamp
    G09639933Courtesy of MITSUBISHI MOTOR SALES OF AMERICA.
    Fig 2: Checking Cylinder Bore Size Mark
    G09639934Courtesy of MITSUBISHI MOTOR SALES OF AMERICA.
    NOTE: The piston size mark is indicated on the piston top face.
    CAUTION: The clearance between the piston and the piston pin is a tight fit at room temperature. Therefore, be sure the heat the piston before pulling out the piston pin. Use care sine the piston is hot after heating.
  2. Into each container, pour enough engine oil to completely cover a piston.
  3. Heat the engine oil to warm the piston to approximately 70°C (158°F), and then remove the piston pin.
  4. Sufficiently apply the engine oil to the outer circumference of piston pin and the small end hole of connecting rod.
    Fig 3: Heating Engine Oil To Warm Piston
    G09639935Courtesy of MITSUBISHI MOTOR SALES OF AMERICA.
  5. Put the front mark of connecting rod and the front mark of piston toward the same side, and then insert the piston pin.
  6. Install the circlip to the piston according to the following procedure:
    Fig 4: Front Mark Of Connecting Rod And Front Mark Of Piston
    G09639936Courtesy of MITSUBISHI MOTOR SALES OF AMERICA.
    1. With the open side facing upward, install the new circlip to the special tool MB992236.
      Fig 5: Installing Circlip To Special Tool
      G09639937Courtesy of MITSUBISHI MOTOR SALES OF AMERICA.
    2. Align the open side of circlip with the piston groove, and then set the circlip together with the special tool MB992236.
      Fig 6: Aligning Open Side Of Circlip With Piston Groove
      G09639938Courtesy of MITSUBISHI MOTOR SALES OF AMERICA.
    3. Install the guide A (ø21.9 mm [0.88 inch]), to the push rod of special tool MD998780.
      Fig 7: Installing Guide A To Push Rod Of Special Tool
      G09639939Courtesy of MITSUBISHI MOTOR SALES OF AMERICA.
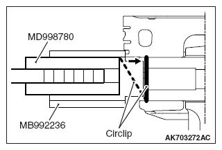
    4. Push the opposite side of open side with the special tool MD998780, and install the circlip to the piston groove.
    5. Make sure the circlip is seated into the groove.
    6. Unless seated into the groove, the circlip must be pushed with the special tool MD998780 again to be seated into the groove.
      Fig 8: Installing Circlip To Piston Groove
      G09639940Courtesy of MITSUBISHI MOTOR SALES OF AMERICA.
  7. Check that the piston moves smoothly.
    Fig 9: Checking Piston Moves Smoothly
    G09639941Courtesy of MITSUBISHI MOTOR SALES OF AMERICA.