LEMON Manuals: Even more car manuals for everyone: 1960-2025
Home >> Mitsubishi >> 2015 >> Lancer Evolution Final Edition >> Repair and Diagnosis >> External Pages >> Different variant/trim >> Section 45 (Front Axle - Lancer) >> Front Axle Hub Assembly >> Inspection >> Assembly Service Points >> >> A << Wheel Bearing Installation
April 5, 2026: LEMON Manuals is launched! Read the announcement.

>> A << Wheel Bearing Installation

WARNING: This page is about a different variant/trim than selected.
CAUTION:
  • The magnetic encoder for wheel speed sensor is installed in the wheel bearing. Install the wheel bearing so that the encoder is positioned in the direction shown in the illustration.
  • When press-fit the wheel bearing, push the outer race.
  • After press-fit the wheel bearing, wipe off the extra grease in order not to remain on the magnetic encoder.
  1. Remove grease and foreign material cleanly from the inside of knuckle bore.
    Fig 1: Identifying Driveshaft, Knuckle, Hub, Encoder And Oil Seal
    G06672529Courtesy of MITSUBISHI MOTOR SALES OF AMERICA.
  2. Apply the specified grease thinly and evenly to the inside of knuckle as shown in the illustration.

    Specified grease: Dowcorning/Molykote BR2 Plus or equivalent 

    Amount to use: as required {1.0 - 1.5 g (0.03 - 0.05 ounce)} 

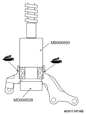
  3. Use special tools MB990890 and MD999528 to press-fit the wheel bearing.
  4. Remove excessive grease seeped out between knuckle and wheel bearing outer race after press-fitting the wheel bearing.
    Fig 2: Pressing Wheel Bearing Using Special Tools MB990890 And MD999528
    G06672530Courtesy of MITSUBISHI MOTOR SALES OF AMERICA.