LEMON Manuals: Even more car manuals for everyone: 1960-2025
Home >> Mitsubishi >> 2015 >> Mirage RF >> Repair and Diagnosis (Single Page) >> Transmission >> Automatic Trans >> Automatic Transaxle - CVT - With Diagnostics >> Diagnosis >> Diagnostic Trouble Code Procedures >> DTC P0720: Malfunction of Output Speed Sensor >> LOGIC FLOW CHARTS (Monitor Sequence-Input Open Circuit)
April 5, 2026: LEMON Manuals is launched! Read the announcement.

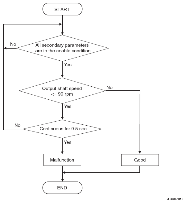
LOGIC FLOW CHARTS (Monitor Sequence-Input Open Circuit)

Fig 1: Monitor Sequence Logic Flow Chart (Input Open Circuit)
G09631414Courtesy of MITSUBISHI MOTOR SALES OF AMERICA.