LEMON Manuals: Even more car manuals for everyone: 1960-2025
Home >> Mitsubishi >> 2016 >> Outlander ES >> Repair and Diagnosis (Single Page) >> Drivelines & Axles >> Wheel Hubs >> Front Axle >> Front Axle Hub Assembly >> Disassembly And Assembly >> Assembly Service Points >> Wheel Bearing Installation
April 5, 2026: LEMON Manuals is launched! Read the announcement.

Wheel Bearing Installation

CAUTION:
  • The magnetic encoder for wheel speed sensor is installed in the wheel bearing. Install the wheel bearing so that the encoder is positioned in the direction shown in the figure.
  • When press-fit the wheel bearing, push the outer race.
  • After press-fit the wheel bearing, wipe off the extra grease in order not to remain on the magnetic encoder.
  1. Remove grease and foreign material cleanly from the inside of knuckle bore.
    Fig 1: Identifying Grease Applying Area On Knuckle Bore
    G05432082Courtesy of MITSUBISHI MOTOR SALES OF AMERICA.
  2. Apply the specified grease thinly and evenly to the inside of knuckle as shown in the figure.

    Specified grease: Dowcorning/Molykote BR2 Plus 

    Amount to use: as required {1.0 - 1.5 g (0.04 -0.05 ounce)} 

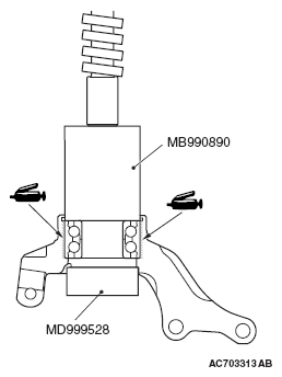
  3. Use special tools MD999528 and MB990890 to press-fit the wheel bearing.
  4. Remove excessive grease seeped out between knuckle and wheel bearing outer race after press-fitting the wheel bearing.
    Fig 2: Pressing Wheel Bearing
    G05432083Courtesy of MITSUBISHI MOTOR SALES OF AMERICA.