LEMON Manuals: Even more car manuals for everyone: 1960-2025
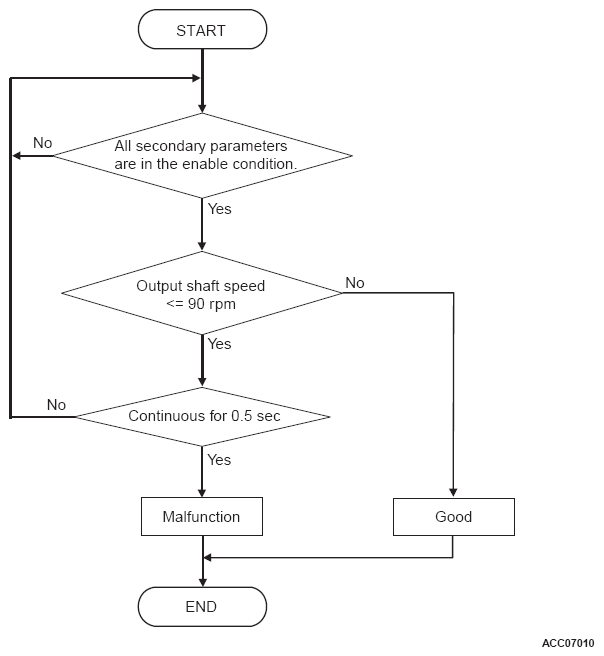
Home >> Mitsubishi >> 2017 >> Mirage ES, Standard Trans >> Repair and Diagnosis >> External Pages >> Different variant/trim >> Section 1 (Continuously Variable Transaxle (CVT)) >> Diagnosis >> Diagnostic Trouble Code Procedures >> DTC P0720: Malfunction Of Output Speed Sensor >> Logic Flow Charts (Monitor Sequence-Input Open Circuit)
April 5, 2026: LEMON Manuals is launched! Read the announcement.

Logic Flow Charts (Monitor Sequence-Input Open Circuit)

WARNING: This page is about a different variant/trim than selected.
Fig 1: Output Speed Sensor (Input Open Circuit) - DTC Flow Chart
G11278233Courtesy of MITSUBISHI MOTOR SALES OF AMERICA.