LEMON Manuals: Even more car manuals for everyone: 1960-2025
Home >> Mitsubishi >> 2017 >> RVR ES, Standard Trans >> Repair and Diagnosis (Single Page) >> Accessories & Equipment >> Anti-Theft Systems >> Keyless Operation System (Kos) - With Diagnostics >> General Information >> One-Touch Start System Configuration
April 5, 2026: LEMON Manuals is launched! Read the announcement.

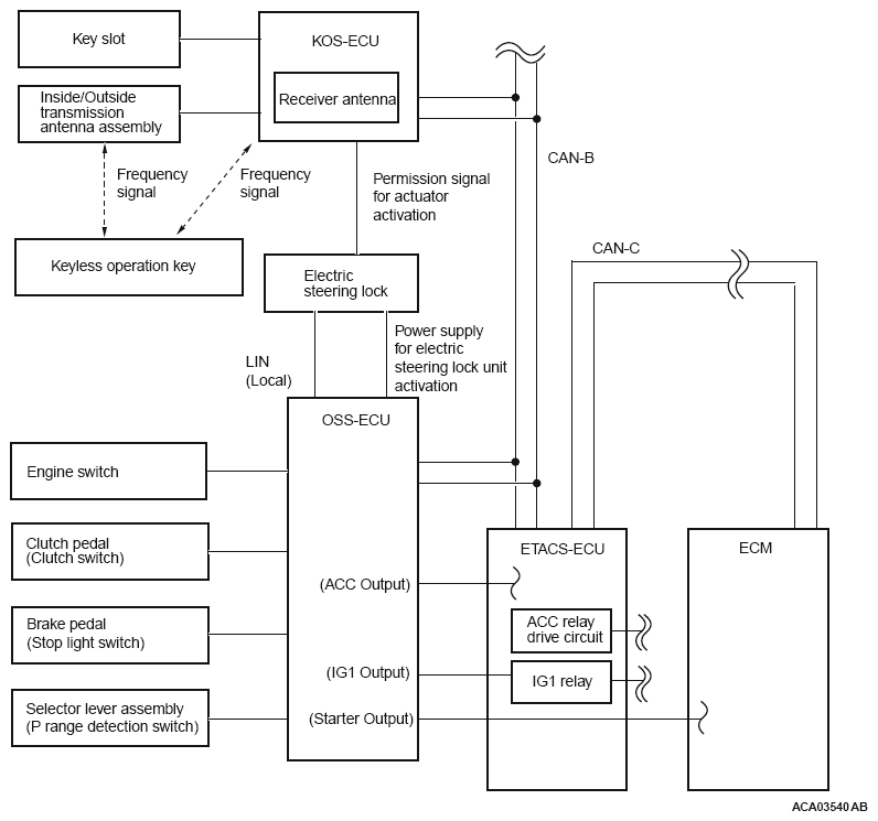
One-Touch Start System Configuration

Fig 1: One-Touch Start System Configuration Diagram
G10231650Courtesy of MITSUBISHI MOTOR SALES OF AMERICA.