LEMON Manuals: Even more car manuals for everyone: 1960-2025
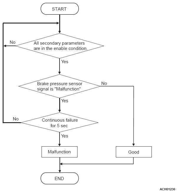
Home >> Mitsubishi >> 2019 >> Mirage ES, Standard Trans >> Repair and Diagnosis >> External Pages >> Different variant/trim >> Section 1 (Continuously Variable Transaxle (CVT)) >> Diagnosis >> Diagnostic Trouble Code Procedures >> DTC P1797: G Sensor/Brake Pressure Sensor Malfunction >> Logic Flow Charts
April 5, 2026: LEMON Manuals is launched! Read the announcement.

Logic Flow Charts

WARNING: This page is about a different variant/trim than selected.

(Monitor Sequence - Brake Pressure Sensor Signal Malfunction) 

G12361615Courtesy of MITSUBISHI MOTOR SALES OF AMERICA.