LEMON Manuals: Even more car manuals for everyone: 1960-2025
Home >> Mitsubishi >> 2021 >> Mirage LE >> Repair and Diagnosis >> Body & Frame >> Windows >> Window Glass >> Windshield >> Removal And Installation >> Notes
April 5, 2026: LEMON Manuals is launched! Read the announcement.

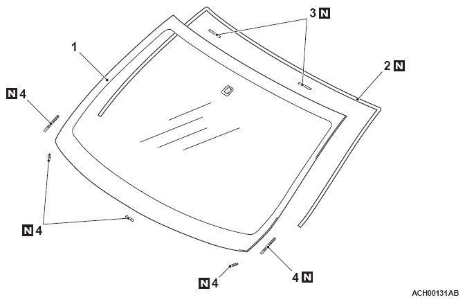
Removal And Installation: Notes

Pre-removal and post-installation operation 

G12362111Courtesy of MITSUBISHI MOTOR SALES OF AMERICA.
G13735043Courtesy of MITSUBISHI MOTOR SALES OF AMERICA.
G13735044Courtesy of MITSUBISHI MOTOR SALES OF AMERICA.

Required Special Tool: