LEMON Manuals: Even more car manuals for everyone: 1960-2025
Home >> Mitsubishi >> 2023 >> Eclipse Cross LE >> Repair and Diagnosis (Single Page) >> Transmission >> Automatic Trans >> Continuously Variable Transmission (CVT) >> Diagnosis <CVT> >> Diagnostic Trouble Code Procedures >> DTC P084A: Abnormality in Primary Pressure Sensor Function >> LOGIC FLOW CHARTS (Monitor Sequence)
April 5, 2026: LEMON Manuals is launched! Read the announcement.

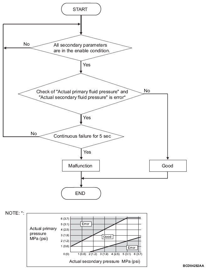
LOGIC FLOW CHARTS (Monitor Sequence)

G16249645Courtesy of MITSUBISHI MOTOR SALES OF AMERICA.