LEMON Manuals: Even more car manuals for everyone: 1960-2025
Home >> Mitsubishi >> 2023 >> Outlander PHEV ES >> Repair and Diagnosis >> Electrical >> Body Electrical >> Power Control System >> System Description >> System >> Relay Control System >> System Description >> System Diagram
April 5, 2026: LEMON Manuals is launched! Read the announcement.

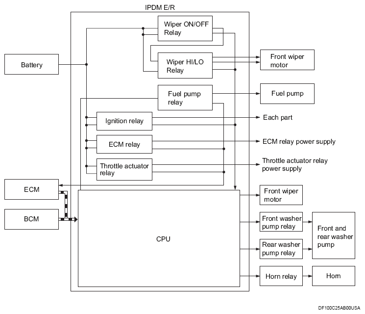
System Diagram

G16316616Courtesy of MITSUBISHI MOTOR SALES OF AMERICA.