LEMON Manuals: Even more car manuals for everyone: 1960-2025
Home >> Mitsubishi >> 2024 >> Outlander SEL, AWD >> Repair and Diagnosis >> Engine Performance >> System >> Engine Control System >> System Description - Component Parts >> System >> Engine Warning >> System Description >> Timing Chart
April 5, 2026: LEMON Manuals is launched! Read the announcement.

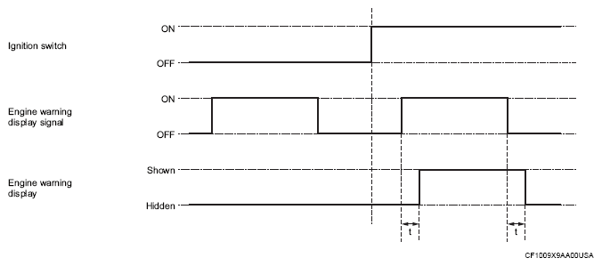
Timing Chart

G16071093Courtesy of MITSUBISHI MOTOR SALES OF AMERICA.
t : 100 ms