LEMON Manuals: Even more car manuals for everyone: 1960-2025
Home >> Mitsubishi >> 2025 >> Outlander PHEV ES >> Repair and Diagnosis >> Body & Frame >> Door Locks >> Security Control System >> System Description >> System >> Vehicle Security System >> System Description >> System Diagram
April 5, 2026: LEMON Manuals is launched! Read the announcement.

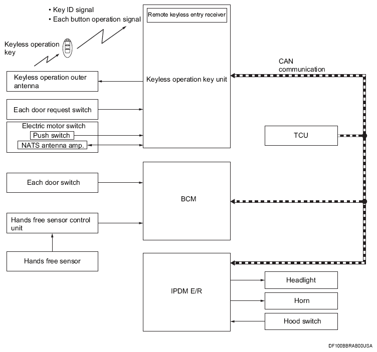
System Diagram

G16313928Courtesy of MITSUBISHI MOTOR SALES OF AMERICA.
Component Function
Door switch Door switch detects door open/close condition and then transmits door switch signal to BCM.
IPDM E/R
  • IPDM E/R operates horns with horn request signal received from BCM.
  • IPDM E/R operates headlamps with high beam request signal received from BCM via CAN communication.
BCM
  • BCM controls VEHICLE SECURITY SYSTEM.
  • BCM transmits horn request signal intermittently to IPDM E/R via CAN communication.
  • BCM transmits high beam request signal intermittently to IPDM E/R via CAN communication.
Electric motor switch
  • Electric motor switch has push switch inside which detects that electric motor switch is pressed, and then transmits the signal to keyless operation key unit.
  • Keyless operation key unit changes the electric motor switch position with the operation of electric motor switch.
  • Keyless operation key unit maintains the electric motor switch position status while electric motor switch is not operated.
Keyless operation key The keyless operation key system is a system that makes it possible to lock and unlock the door locks (door lock/unlock function) by carrying the keyless operation key, which operates based on the results of electronic ID verification using two-way communication between the keyless operation key and the vehicle (keyless operation key unit).
Keyless operation outer antenna Keyless operation outer antenna detects whether keyless operation key is within the detection area or not, and then transmits signal to keyless operation key unit.
Door request switch Door request switch transmits door lock/unlock request signal to keyless operation key unit.
Hood switch Refer to HOOD SWITCH .
Horn
  • Theft warning alarm function activates horns intermittently when BCM detects that any door or hood is opened by unauthorized means, while the system is in the ARMED state.
  • Panic alarm function activates horns intermittently when operating a cellular phone using the Telematics system function.
Keyless operation key unit Keyless operation key unit performs the ID verification between keyless operation key unit and keyless operation key when the keyless operation key is carried into the detection area of NATS antenna amp., and electric motor switch is pressed. If the ID verification result is OK, electric motor switch operation is available.
TCU TCU transmits panic alarm request signal to BCM when panic alarm request is received from Infiniti Connection™ date center.
Headlight Panic alarm function activates headlights intermittently when operating a cellular phone using the Telematics system function.
Hands free sensor control unit Hands free sensor control unit judges user operation by detecting the hands free sensor.
Hands free sensor Hands free sensor detects when the user performs kick motion toward rear bumper.