LEMON Manuals: Even more car manuals for everyone: 1960-2025
Home >> Nissan-Datsun >> 1990 >> 300ZX Base, Automatic >> Repair and Diagnosis >> Engine Performance >> System >> Engine Controls - System/Component Tests >> Diagnostic Charts >> Throttle Valve Switch Chart
April 5, 2026: LEMON Manuals is launched! Read the announcement.

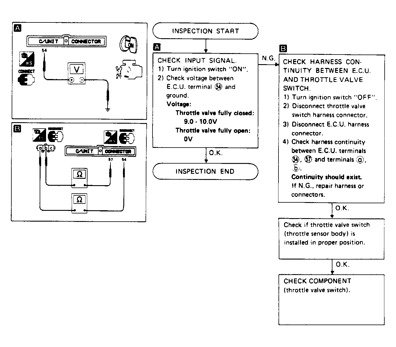
Throttle Valve Switch Chart

Fig 1: Throttle Valve Switch Diagnostic Chart
G90E20655Courtesy of NISSAN MOTOR CO., U.S.A.