LEMON Manuals: Even more car manuals for everyone: 1960-2025
Home >> Nissan-Datsun >> 1990 >> Van GXE >> Repair and Diagnosis >> Engine Performance >> System >> Engine Controls - Tests W/Codes >> Code Charts >> Code 33: Oxygen Sensor
April 5, 2026: LEMON Manuals is launched! Read the announcement.

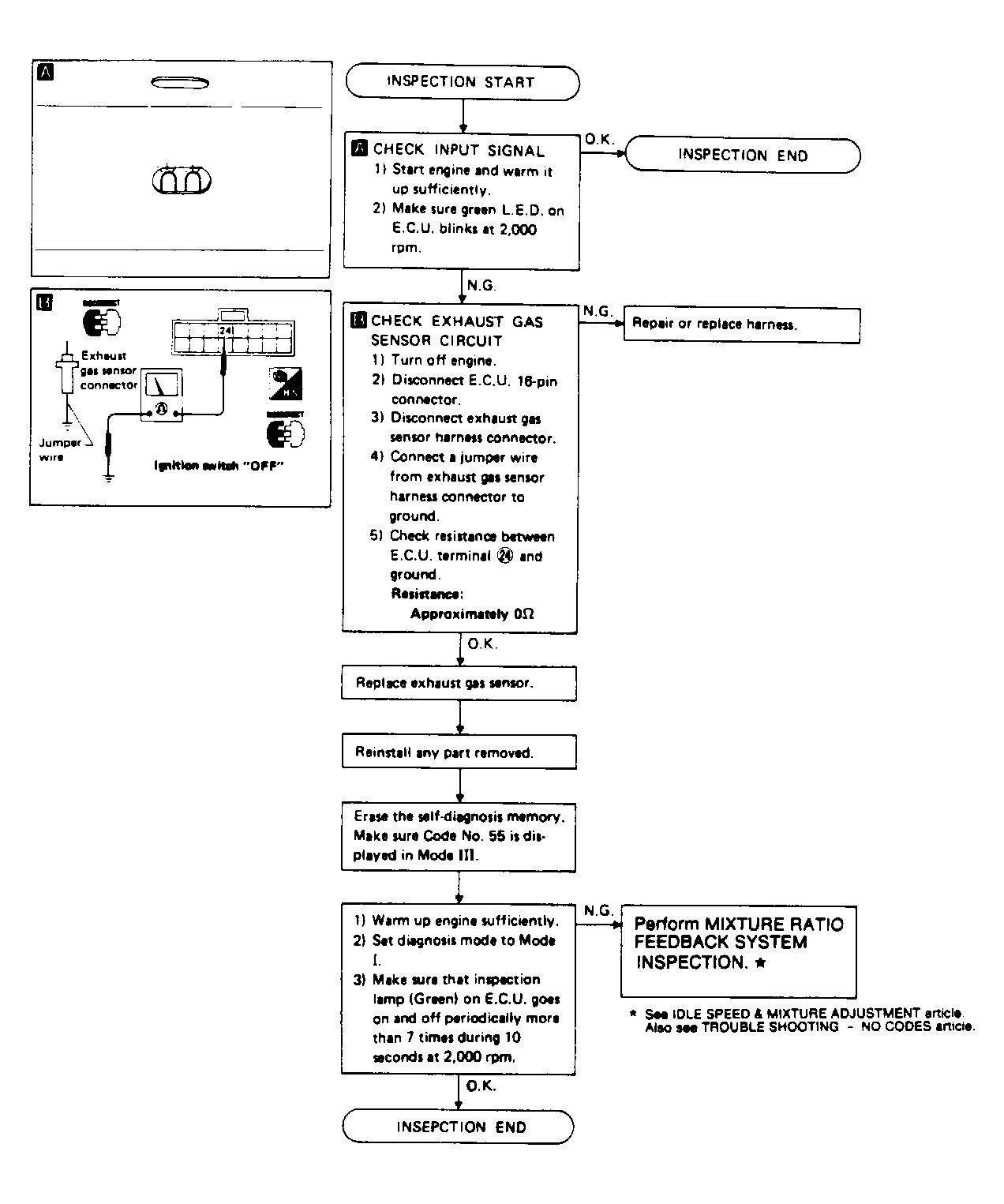
Code 33: Oxygen Sensor

Fig 1: Code 33: Oxygen Sensor Test
G90B19753Courtesy of NISSAN MOTOR CO., U.S.A.