LEMON Manuals: Even more car manuals for everyone: 1960-2025
Home >> Nissan-Datsun >> 1994 >> Sentra SE-R, Automatic >> Repair and Diagnosis >> Transmission >> Automatic Trans >> Overhaul - Re4F03V >> Component Disassembly & Reassembly >> Control Valve Assembly >> Disassembly
April 5, 2026: LEMON Manuals is launched! Read the announcement.

Control Valve Assembly: Disassembly

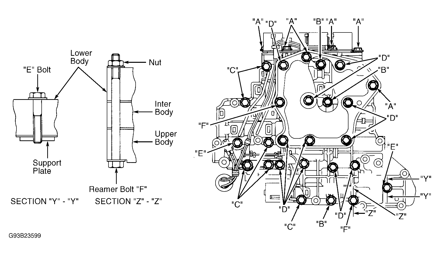
  1. Disassemble the upper, inter and lower valve bodies. See Fig 1. Note bolt length, number of bolts and location. Refer to the

    VALVE BODY BOLT IDENTIFICATION  table.

    VALVE BODY BOLT IDENTIFICATION (1)

    Bolt I.D. (Letter) Length - In. (mm) No. Of Bolts
    "A" .53 (13.5) 6
    "B" 2.28 (58.0) 3
    "C" 1.57 (40.0) 6
    "D" 2.60 (66.0) 11
    "E" 1.30 (33.0) 2
    "F" 3.07 (78.0) 2
    (1) See Fig 2 for bolt location.
  2. Remove bolts "A", "D" and "F", and remove oil strainer from control valve assembly. Remove solenoid assembly and line pressure solenoid from control valve assembly. Remove "O" rings from solenoids and harness terminal body. Place upper valve body face down. Remove bolts "B", "C" and "F".
  3. Remove inter valve body from lower valve body. Turn lower valve body over and remove accumulator support plate. Remove bolts "E", separating plate and separating gasket from lower valve body. See Fig 1. Remove check balls and relief valve springs from lower valve body. DO NOT  lose check balls or relief valve springs.
  4. Remove inter valve body with separating plate and separating gasket from upper valve body. Ensure steel balls are properly positioned in upper and inter valve bodies, then remove balls from valve bodies. DO NOT  lose steel balls.
Fig 1: Exploded View Of Control Valve Assembly
G93A23598Courtesy of NISSAN MOTOR CO., U.S.A.
Fig 2: Identifying Control Valve Assembly Bolt Locations
G93B23599Courtesy of NISSAN MOTOR CO., U.S.A.