LEMON Manuals: Even more car manuals for everyone: 1960-2025
Home >> Nissan-Datsun >> 1998 >> Sentra Base >> Repair and Diagnosis >> External Pages >> Different car >> Section 6 (Engine Controls - Basic Testing 3.0) >> Ignition Checks >> DISTRIBUTORLESS Ignition System Checks >> ECCS Relay
April 5, 2026: LEMON Manuals is launched! Read the announcement.

ECCS Relay

WARNING: This page is about a different car, the 1997 Infiniti I30. However, it is still accessible from the selected car via links, so may be relevant.
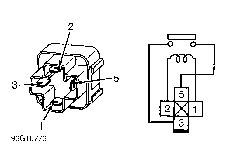
  1. Remove ECCS relay. See Fig 2 . Connect a 12-volt power source and ground to terminals No. 1 and 2 of relay. See Fig 1 . Using ohmmeter, check continuity between terminals No. 3 and 5. Continuity should exist while relay is energized.
  2. Disconnect power source and repeat continuity check. No continuity should exist. If continuity is not as specified, replace ECCS relay.
Fig 1: Checking ECCS Power Relay Continuity
G96G10773Courtesy of NISSAN MOTOR CO., U.S.A.
Fig 2: Locating ECCS Power Relay
G96I10775Courtesy of NISSAN MOTOR CO., U.S.A.