LEMON Manuals: Even more car manuals for everyone: 1960-2025
Home >> Nissan-Datsun >> 2002 >> Sentra SE-R, Automatic >> Repair and Diagnosis >> External Pages >> Different car >> Section 1188 (Rear Window Defogger) >> Rear Window Defogger >> Filament Check
April 5, 2026: LEMON Manuals is launched! Read the announcement.

Filament Check

WARNING: This page is about a different car, the 2004 Nissan Sentra. However, it is still accessible from the selected car via links, so may be relevant.
  1. Attach probe circuit tester (in volt range) to middle portion of each filament.
    Fig 1: Attaching Probe Circuit Tester To Middle Portion Of Filament
    G03510971Courtesy of NISSAN MOTOR CO., U.S.A.
    • When measuring voltage, wrap tin foil around the top of the negative probe. Then press the foil against the wire with your finger. 
    Fig 2: Pressing Foil Against Wire With Finger
    G03510972Courtesy of NISSAN MOTOR CO., U.S.A.
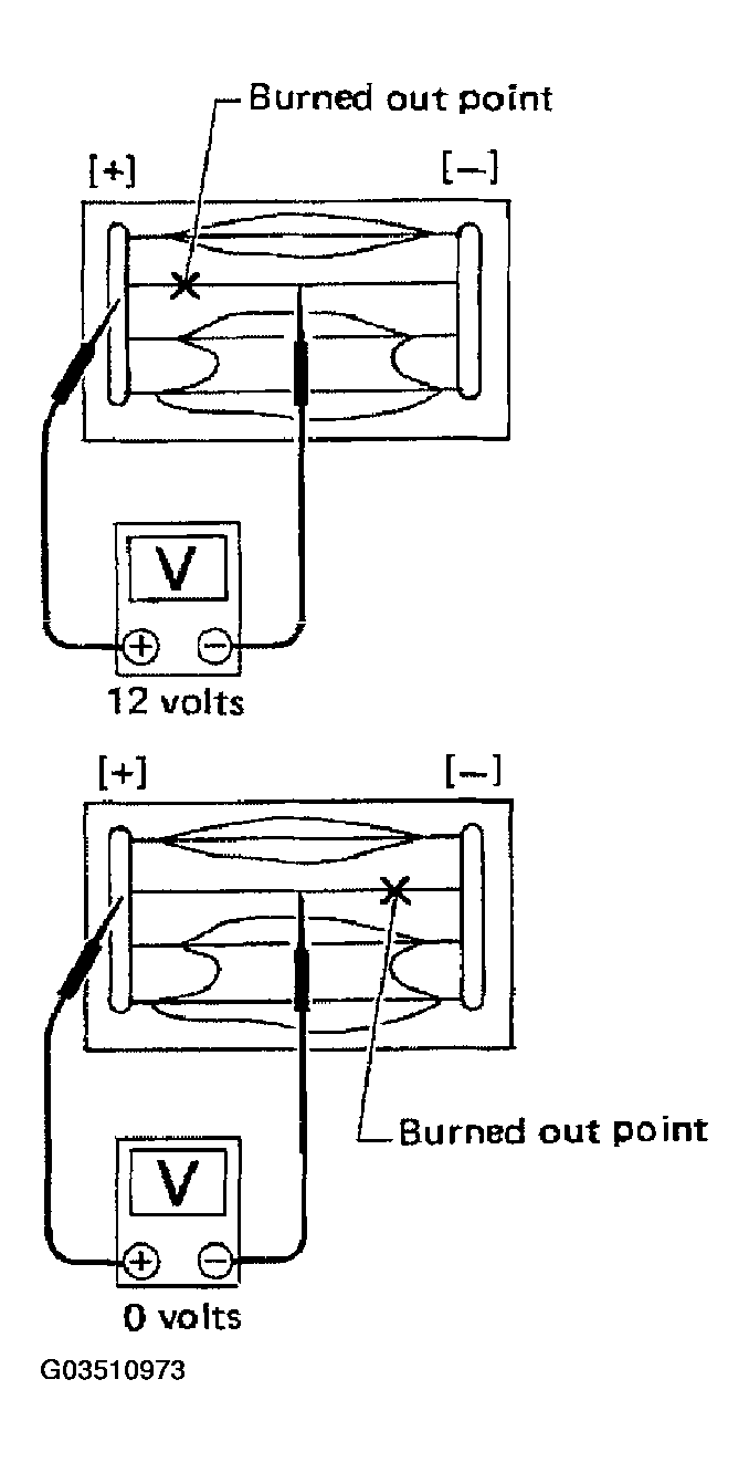
  2. If a filament is burned out, circuit tester registers 0 or 12 volts.
    Fig 3: Testing Filament Circuit
    G03510973Courtesy of NISSAN MOTOR CO., U.S.A.
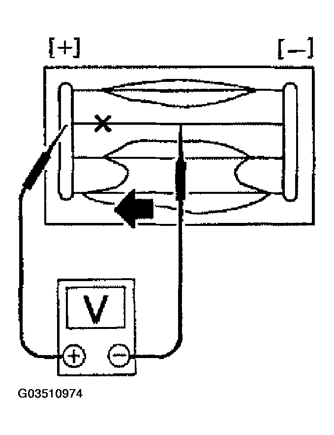
  3. To locate burned out point, move probe to left and right along filament. Test needle will swing abruptly when probe passes the point.
Fig 4: Testing Needle When Probe Passes Point
G03510974Courtesy of NISSAN MOTOR CO., U.S.A.