LEMON Manuals: Even more car manuals for everyone: 1960-2025
Home >> Nissan-Datsun >> 2002 >> Sentra SE-R, Automatic >> Repair and Diagnosis >> External Pages >> Different car >> Section 1188 (Rear Window Defogger) >> Rear Window Defogger >> Filament Repair >> Repairing Procedure
April 5, 2026: LEMON Manuals is launched! Read the announcement.

Repairing Procedure

WARNING: This page is about a different car, the 2004 Nissan Sentra. However, it is still accessible from the selected car via links, so may be relevant.
  1. Wipe broken heat wire and its surrounding area clean with a cloth dampened in alcohol.
    Fig 1: Wiping Broken Heat Wire
    G03510975Courtesy of NISSAN MOTOR CO., U.S.A.
  2. Apply a small amount of conductive silver composition to tip of drawing pen.

    Shake silver composition container before use. 

  3. Place ruler on glass along broken line. Deposit conductive silver composition on break with drawing pen. Slightly overlap existing heat wire on both sides [preferably 5 mm (0.20 in)] of the break.
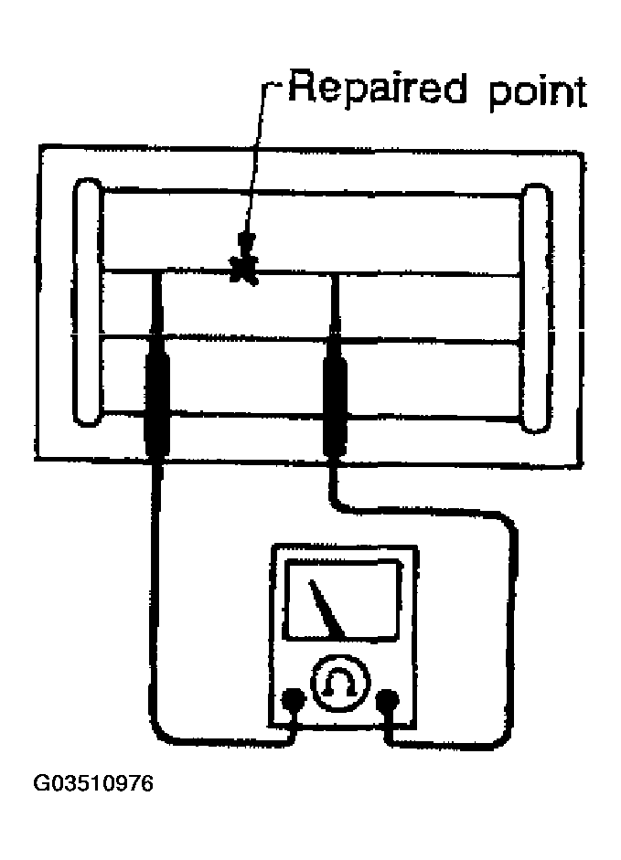
  4. After repair has been completed, check repaired wire for continuity. This check should be conducted 10 minutes after silver composition is deposited.
    Fig 2: Checking Repair Wire Continuity
    G03510976Courtesy of NISSAN MOTOR CO., U.S.A.

    Do not touch repaired area while test is being conducted. 

  5. Apply a constant stream of hot air directly to the repaired area for approximately 20 minutes with a heat gun. A minimum distance of 3 cm (1.2 in) should be kept between repaired area and hot air outlet. If a heat gun is not available, let the repaired area dry for 24 hours.
Fig 3: Applying Constant Stream Of Hot Air To Repaired Area With Heat Gun
G03510977Courtesy of NISSAN MOTOR CO., U.S.A.