LEMON Manuals: Even more car manuals for everyone: 1960-2025
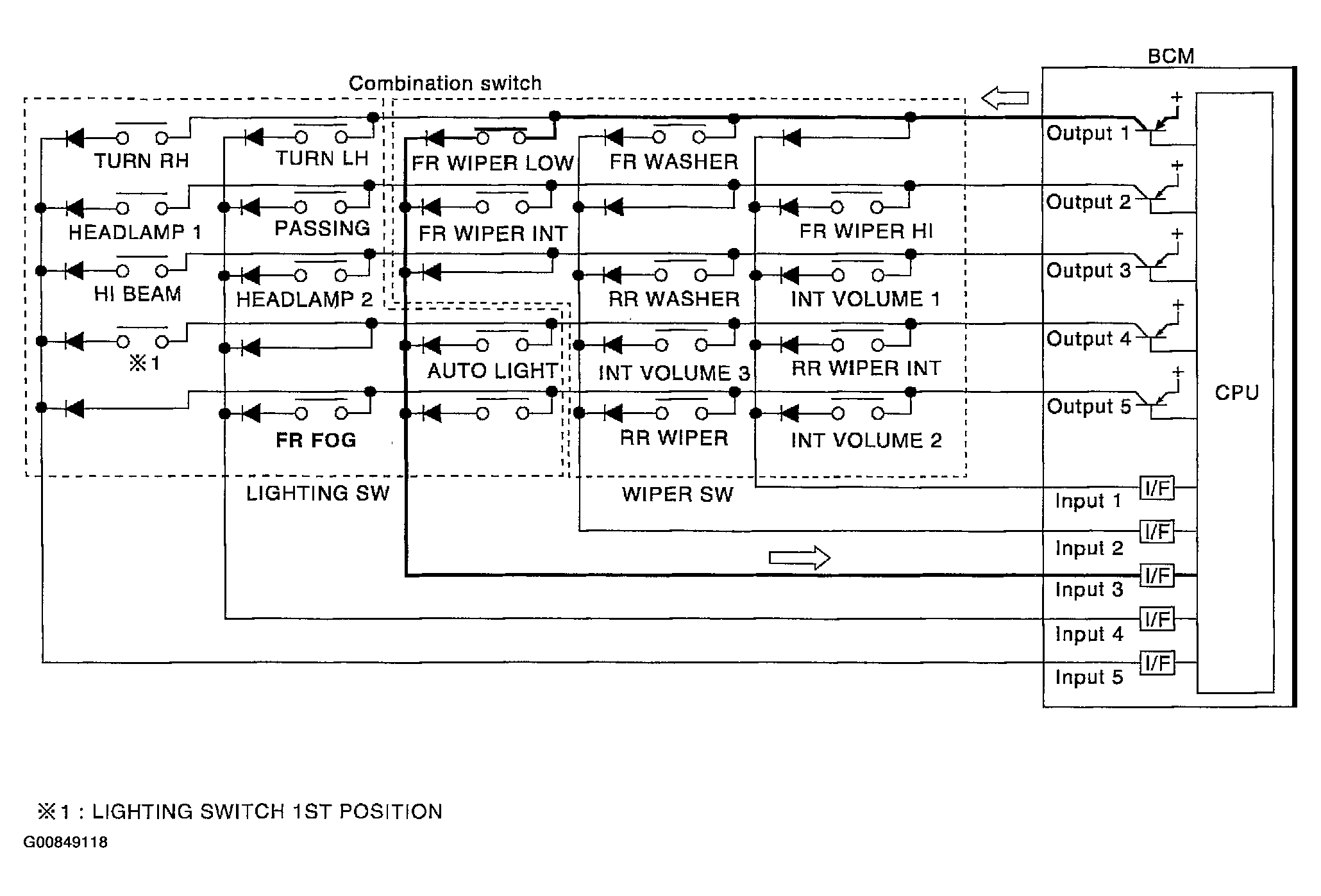
Home >> Nissan-Datsun >> 2002 >> Sentra SE-R, Automatic >> Repair and Diagnosis >> External Pages >> Different car >> Section 1239 (Front Wiper And Washer) >> Front Wiper And Washer System >> System Description >> Sample Operation: (When Wiper Switch is Turned ON)
April 5, 2026: LEMON Manuals is launched! Read the announcement.

Sample Operation: (When Wiper Switch is Turned ON)

WARNING: This page is about a different car, the 2004 Nissan Quest. However, it is still accessible from the selected car via links, so may be relevant.
NOTE: Each OUTPUT terminal transistor is activated at 10 ms intervals. Therefore, after switch is turned ON, electrical loads are activated with time delay. This time delay is so short that it cannot be detected by human senses.