LEMON Manuals: Even more car manuals for everyone: 1960-2025
Home >> Nissan-Datsun >> 2002 >> Sentra SE-R, Automatic >> Repair and Diagnosis >> External Pages >> Different car >> Section 1617 (Transfer Case) >> Transfer Assembly >> Disassembly and Assembly >> Assembly
April 5, 2026: LEMON Manuals is launched! Read the announcement.

Disassembly and Assembly: Assembly

WARNING: This page is about a different car, the 2005 Nissan Frontier. However, it is still accessible from the selected car via links, so may be relevant.
  1. Install the breather tube.
    CAUTION: Install breather tube in the direction shown.
    Fig 1: Installing Breather Tube
    G03595429Courtesy of NISSAN MOTOR CO., U.S.A.
  2. Install the baffle plate to the front case. Tighten the bolt to the specified torque. Refer to "COMPONENTS ".
    CAUTION: Install baffle plate by pushing it in the direction shown while tightening the bolt.
    Fig 2: Installing Baffle Plate To Front Case
    G03595430Courtesy of NISSAN MOTOR CO., U.S.A.
  3. Install the input bearing to the front case, using Tool.

    Tool number: ST30720000 (J-25405) 

    Fig 3: Installing Input Bearing To Front Case
    G03595431Courtesy of NISSAN MOTOR CO., U.S.A.
  4. Install the snap ring to the front case.
    CAUTION: Do not reuse snap ring.
    Fig 4: Installing Snap Ring To Front Case
    G03595432Courtesy of NISSAN MOTOR CO., U.S.A.
  5. Install the internal gear with the groove facing up into the front case.
    Fig 5: Installing Internal Gear With Groove Facing Up Into Front Case
    G03595433Courtesy of NISSAN MOTOR CO., U.S.A.
  6. Install the snap ring to the front case.
    CAUTION: Do not reuse snap ring.
    Fig 6: Installing Snap Ring To Front Case
    G03595434Courtesy of NISSAN MOTOR CO., U.S.A.
  7. Install the planetary carrier assembly and sun gear assembly to the front case, using Tool.

    Tool number: KV38100200 (-) 

    Fig 7: Installing Planetary Carrier Assembly And Sun Gear Assembly To Front Case
    G03595435Courtesy of NISSAN MOTOR CO., U.S.A.
  8. Install the snap ring to the sun gear.
    CAUTION:
    • Do not reuse snap ring.
    • Do not damage sun gear.
      Fig 8: Installing Snap Ring To Sun Gear
      G03595436Courtesy of NISSAN MOTOR CO., U.S.A.
  9. Set the L-H sleeve together with the L-H shift fork assembly onto the planetary carrier assembly.
    Fig 9: Setting L-H Sleeve Together With L-H Shift Fork Assembly
    G03595437Courtesy of NISSAN MOTOR CO., U.S.A.
  10. Install the control shift rod assembly to the front case.
    CAUTION: Set pin of L-H shift fork assembly into the groove of drum cam.
  11. Turn the control shift rod assembly fully counterclockwise.
    Fig 10: Installing Control Shift Rod Assembly
    G03595438Courtesy of NISSAN MOTOR CO., U.S.A.
  12. Install the L-H shift rod assembly through the L-H shift fork assembly opening to the front case.
    CAUTION: Set pin of L-H shift rod assembly into the groove of drum cam.
  13. Install the mainshaft to the sun gear assembly.
    Fig 11: Installing The L-H Shift Rod Assembly Through The L-H Shift Fork Assembly Opening To The Front Case
    G03595439Courtesy of NISSAN MOTOR CO., U.S.A.
  14. Install the drive chain to the front drive shaft and sprocket.
    CAUTION: Install with the Identification mark of drive chain on the side of the rear bearing of front drive shaft.
    Fig 12: Installing Drive Chain To Front Drive Shaft And Sprocket
    G03595440Courtesy of NISSAN MOTOR CO., U.S.A.
  15. Install the drive chain together with the front drive shaft and sprocket to the front case.
    Fig 13: Installing Drive Chain Together With Front Drive Shaft And Sprocket To Front Case
    G03595441Courtesy of NISSAN MOTOR CO., U.S.A.
  16. Install the 2-4 sleeve and 2-4 shift fork assembly to the mainshaft.
    CAUTION:
    • Install with proper orientation of 2-4 sleeve.
    • Install 2-4 shift fork with engaging the grooves of 2-4 shift fork in the retaining pin of 2-4 shift bracket.
      Fig 14: Installing The 2-4 Sleeve And 2-4 Shift Fork Assembly To The Mainshaft
      G03595442Courtesy of NISSAN MOTOR CO., U.S.A.
  17. Install the snap ring to the L-H shift rod assembly, using suitable tool.
    CAUTION: Do not reuse snap ring.
  18. Install the clutch gear to the mainshaft.
    Fig 15: Installing The Snap Ring To The L-H Shift Rod Assembly, Using Suitable Tool
    G03595443Courtesy of NISSAN MOTOR CO., U.S.A.
  19. Install the snap ring to the mainshaft, using suitable tool.
    CAUTION: Do not reuse snap ring.
  20. Install the oil pump assembly to the mainshaft.
    Fig 16: Installing The Snap Ring To The Mainshaft, Using Suitable Tool
    G03595444Courtesy of NISSAN MOTOR CO., U.S.A.
  21. Install the snap ring to the mainshaft, using suitable tool.
    CAUTION: Do not reuse snap ring.
    Fig 17: Installing Snap Ring To Mainshaft
    G03595445Courtesy of NISSAN MOTOR CO., U.S.A.
  22. Install the retainer to the mainshaft.
    CAUTION: Set the projection of oil pump assembly to the identification hole, and then align locating hole of retainer to the L-H shift rod assembly.
    Fig 18: Installing Retainer To Mainshaft
    G03595446Courtesy of NISSAN MOTOR CO., U.S.A.
  23. Install the mainshaft rear bearing to the mainshaft, using Tool.

    Tool number: KV32102700 (-) 

    CAUTION: Do not push too hard in order to avoid snap rings becoming dislodged from mainshaft.
    Fig 19: Installing Mainshaft Rear Bearing To Mainshaft
    G03595447Courtesy of NISSAN MOTOR CO., U.S.A.
  24. Install the snap ring to the mainshaft, using suitable tool.
    CAUTION: Do not reuse snap ring.
  25. Install the spacer to the control shift rod.
    Fig 20: Installing The Snap Ring To The Mainshaft, Using Suitable Tool
    G03595448Courtesy of NISSAN MOTOR CO., U.S.A.
  26. Apply liquid gasket to the mating surface of the front case.
    CAUTION: Remove old sealant adhering to mating surfaces. Also remove any moisture, oil, or foreign material adhering to application and mating surfaces.
  27. Install the rear case to the front case.
    Fig 21: Applying Liquid Gasket To The Mating Surface Of The Front Case
    G03595449Courtesy of NISSAN MOTOR CO., U.S.A.
  28. Tighten the bolts to the specified torque. Refer to "COMPONENTS ".
    CAUTION: Be sure to install the harness brackets.
    Fig 22: Identifying Rear Case To Front Case Bolts
    G03595450Courtesy of NISSAN MOTOR CO., U.S.A.
  29. Install the retainer bolts with new gaskets. Tighten the bolts to the specified torque. Refer to "COMPONENTS ".
    CAUTION:
    • Do not reuse gasket.
    • Tighten them to the specified torque again.
      Fig 23: Installing Retainer Bolts
      G03595451Courtesy of NISSAN MOTOR CO., U.S.A.
  30. Apply petroleum jelly to the circumference of the oil seal, and install it to the front case, using Tools.

    Dimension A: 4.0 - 4.6 mm (0.157 - 0.181 in) 

    Tool number A: ST30720000 (J-25405) 

    B: KV40104830 (-) 

    CAUTION:
    • Do not reuse oil seal.
    • Apply petroleum jelly to oil seal.
      Fig 24: Installing Oil Seal To The Front Case
      G03595452Courtesy of NISSAN MOTOR CO., U.S.A.
  31. Install the rear oil seal until it is flush with the end face of the rear case, using Tool.

    Tool number: KV38100500 (-) 

    CAUTION:
    • Do not reuse oil seal.
    • Apply petroleum jelly to oil seal.
      Fig 25: Installing Rear Oil Seal Until It Is Flush With End Face Of Rear Case
      G03595453Courtesy of NISSAN MOTOR CO., U.S.A.
  32. Apply petroleum jelly to the circumference of the new dust cover. Position the dust cover using the identification mark as shown.
    CAUTION:
    • Do not reuse dust cover.
    • Position the identification mark at the position shown.
      Fig 26: Positioning The Dust Cover Using The Identification Mark
      G03595454Courtesy of NISSAN MOTOR CO., U.S.A.
  33. Install the dust cover to the rear case, using Tool.

    Tool number: KV40105310 (-) 

    CAUTION:
    • Do not reuse dust cover.
    • Apply petroleum jelly to dust cover.
      Fig 27: Install The Dust Cover To The Rear Case
      G03595455Courtesy of NISSAN MOTOR CO., U.S.A.
  34. Install check ball and check spring to rear case (M/T models only).
  35. Apply sealant to thread of check plug, then install it to rear case and tighten to the specified torque (M/T models only). Refer to "COMPONENTS ".
    CAUTION: Remove old sealant and oil adhering to threads.
    Fig 28: Install Check Ball And Check Spring To Rear Case
    G03595456Courtesy of NISSAN MOTOR CO., U.S.A.
  36. Apply sealant to the threads of the wait detection switch (gray). Then install it to the rear case and tighten to the specified torque. Refer to "COMPONENTS ".
    CAUTION: Remove old sealant and oil adhering to threads.
    Fig 29: Applying Sealant To The Threads Of The Wait Detection Switch
    G03595457Courtesy of NISSAN MOTOR CO., U.S.A.
  37. Apply sealant to the threads of the 4LO switch (gray with green paint) and ATP switch (black). Then install them to the front case and tighten to the specified torque. Refer to "COMPONENTS ".
    CAUTION: Remove old sealant and oil adhering to threads.
    Fig 30: Identifying 4LO Switch And ATP Switch
    G03595458Courtesy of NISSAN MOTOR CO., U.S.A.
  38. Install the front oil seal until it is flush with the end face of the front case, using Tool.

    Tool number: KV38100500 (-) 

    CAUTION:
    • Do not reuse oil seal.
    • Apply petroleum jelly to oil seal.
      Fig 31: Installing Front Oil Seal Until It Is Flush With End Face Of Front Case
      G03595459Courtesy of NISSAN MOTOR CO., U.S.A.
  39. Align the matching mark on the front drive shaft with the mark on the companion flange, then install the companion flange.
    Fig 32: Aligning Matching Mark On Front Drive Shaft With Mark On Companion Flange
    G03595460Courtesy of NISSAN MOTOR CO., U.S.A.
  40. Install the companion flange self-lock nut. Tighten to the specified torque, using Tool. Refer to "COMPONENTS ".

    Tool number: KV40104000 (-) 

    CAUTION: Do not reuse self-lock nut.
  41. Install the O-ring to the transfer control device.
    CAUTION:
    • Do not reuse O-ring.
    • Apply petroleum jelly to O-ring.
      Fig 33: Installing And Tightening The Companion Flange Self-Lock Nut
      G03595461Courtesy of NISSAN MOTOR CO., U.S.A.
  42. Install the transfer control device to the rear case.
    1. Turn the control shift rod fully counterclockwise using a flat-bladed screwdriver, and then put a mark on the control shift rod.
      Fig 34: Identifying Mark On The Control Shift Rod
      G03595462Courtesy of NISSAN MOTOR CO., U.S.A.
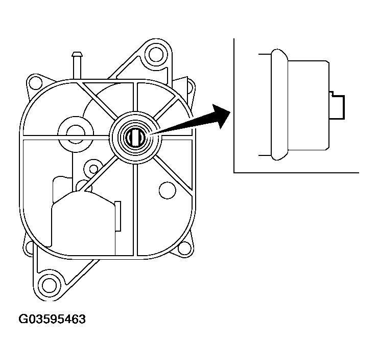
    2. Align the transfer control device shaft cutout with the mark on the control shift rod, and install it.
      NOTE: Turn the transfer control device when the transfer control device connection does not match.
      Fig 35: Align The Transfer Control Device Shaft Cutout With The Mark On The Control Shift Rod
      G03595463Courtesy of NISSAN MOTOR CO., U.S.A.
    3. Tighten the bolts to the specified torque. Refer to "COMPONENTS ".
      Fig 36: Tightening Bolts To Specified Torque
      G03595464Courtesy of NISSAN MOTOR CO., U.S.A.
  43. Install the drain plug and filler plug with new gaskets to the rear case. Tighten to the specified torque. Refer to "COMPONENTS ".
    CAUTION: Do not reuse gaskets.