LEMON Manuals: Even more car manuals for everyone: 1960-2025
Home >> Nissan-Datsun >> 2002 >> Sentra SE-R, Automatic >> Repair and Diagnosis >> External Pages >> Different car >> Section 1893 (Audio/ Visual System) >> Audio >> Steering Switch Check (Premium System)
April 5, 2026: LEMON Manuals is launched! Read the announcement.

Steering Switch Check (Premium System)

WARNING: This page is about a different car, the 2006 Nissan Xterra. However, it is still accessible from the selected car via links, so may be relevant.
  1. SELF-DIAGNOSIS FUNCTION CHECK 
    1. Start audio unit self-diagnosis function. Refer to "AUDIO UNIT SELF-DIAGNOSIS FUNCTION (PREMIUM SYSTEM) ".
    2. Operate steering switch.

    Does steering switch operate normally? 

    YES: Inspection End.

    NO: GO TO 2.

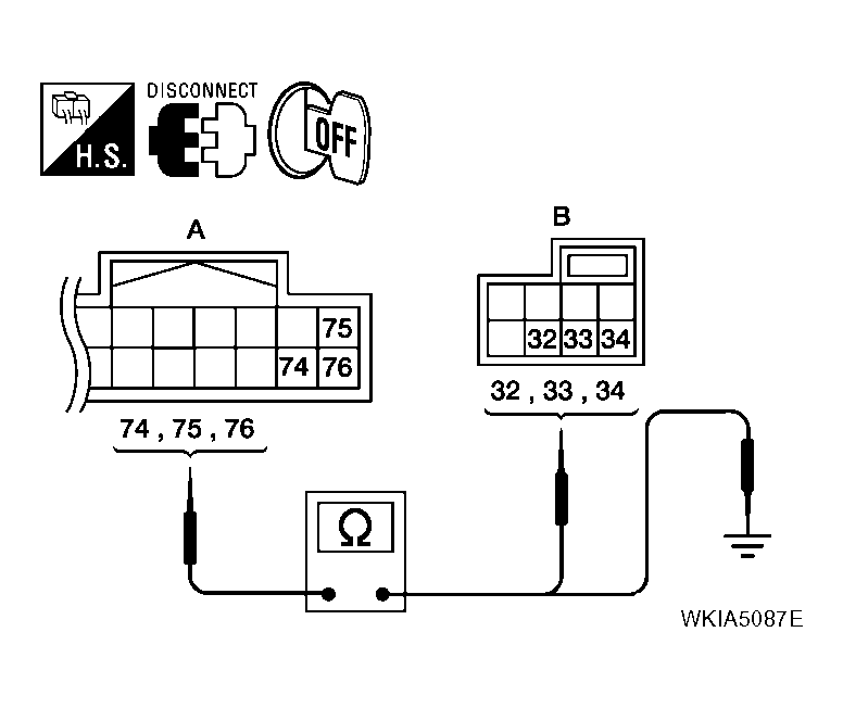
  2. CHECK HARNESS 
    1. Turn ignition switch OFF.
    2. Disconnect audio unit connector M45 (B) and spiral cable connector M30.
    3. Check continuity between spiral cable harness connector terminal and audio unit harness connector terminal.
      TERMINAL CONTINUITY CHART

      Terminals Continuity
      Spiral cable Audio unit
      Connector Terminal Connector Terminal
      B: M30 32 A: M45 76 Yes
      33 75
      34 74
    4. Check continuity between audio unit and ground.
      Fig 1: Checking Continuity Between Spiral Cable Harness Connector Terminal And Audio Unit Harness Connector Terminal
      G04206539Courtesy of NISSAN MOTOR CO., U.S.A.
      TERMINAL CONTINUITY CHART

      Terminals Continuity
      Audio unit -
      Connector Terminal
      B: M45 74 Ground No
      75
      76

    OK or NG 

    OK: GO TO 3.

    NG: Repair harness.

  3. SPIRAL CABLE CHECK 
    1. Disconnect spiral cable connectors M30 (A) and M102 (B).
    2. Check continuity between spiral cable terminals.
    TERMINAL CONTINUITY CHART

    Terminals Continuity
    Spiral cable
    Terminal Terminal
    32 16 Yes
    33 15
    34 14

    OK or NG 

    OK: GO TO 4.

    NG: Replace spiral cable. Refer to "REMOVAL AND INSTALLATION ".

    Fig 2: Checking Continuity Between Spiral Cable Terminals
    G04206540Courtesy of NISSAN MOTOR CO., U.S.A.
  4. CHECK STEERING SWITCH RESISTANCE 

    Check resistance between steering switch terminals.

    TERMINAL SIGNAL CONDITION SPECIFICATION

    Terminal Signal name Condition Resistance (Ω) (Approx.)
    15 16 Seek (down) Depress (station) down switch. 165
    Power Depress power switch. 0
    Volume (down) Depress volume down switch. 652
    14 16 Seek (up) Depress (station) up switch. 165
    Mode Depress mode switch. 0
    Volume (up) Depress volume up switch. 652

    OK or NG 

    OK: Inspection End.

    NG: Replace steering switch. Refer to "STEERING WHEEL SWITCHES ".

    Fig 3: Checking Steering Switch Resistance
    G04206541Courtesy of NISSAN MOTOR CO., U.S.A.