LEMON Manuals: Even more car manuals for everyone: 1960-2025
Home >> Nissan-Datsun >> 2002 >> Sentra SE-R, Automatic >> Repair and Diagnosis >> External Pages >> Different car >> Section 2000 (Front Final Drive) >> Preparation >> Special Service Tools
April 5, 2026: LEMON Manuals is launched! Read the announcement.

Special Service Tools

WARNING: This page is about a different car, the 2007 Nissan Pathfinder. However, it is still accessible from the selected car via links, so may be relevant.

The actual shapes of Kent-Moore tools may differ from those of special service tools illustrated here.

SPECIAL SERVICE TOOLS REFERENCE

Tool number
(Kent-Moore No.)
Tool name
Description
KV38108300
(J-44195)
Flange wrench
G04901814
Removing and installing drive pinion lock nut
KV381054S0
(J-34286)
Puller
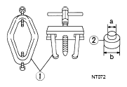
G04875581
Removing front oil seal
ST30720000
(J-25405)
Drift
G04876263
  • Installing front oil seal
  • Installing side oil seal

  1. a: 77 mm (3.03 in) dia. 
  2. b: 55.5 mm (2.185 in) dia. 
ST27863000
( - )
Drift
G04901416
  • Installing front oil seal
  • Installing side oil seal

  1. a: 74.5 mm (2.933 in) dia. 
  2. b: 62.5 mm (2.461 in) dia. 
ST3127S000
(J-25765-A)
Preload gauge
  1. GG91030000

    (J-25765)

    Torque wrench

  2. HT62940000

    ( - )

    Socket adapter (1/2")

  3. HT62900000

( - )
Socket adapter (3/8")
G04876269
Measuring drive pinion bearing preload torque and total preload torque
KV10111100
(J-37228)
Seal cutter
G04876270
Removing carrier cover
ST3306S001
( - )
Differential side bearing puller set
  1. ST33051001

    (J-22888-20)

    Puller

  2. ST33061000

(J-8107-2)
Base
G04876271
Removing and installing side bearing inner race
  1. a: 28.5 mm (1.122 in) dia. 
  2. b: 38 mm (1.50 in) dia. 
ST30031000
(J-22912-01)
Replacer
G04876272
Removing drive pinion rear bearing inner race
KV38100600
(J-25267)
Drift
G04898657
Installing side bearing adjusting washer
ST30613000
(J-25742-3)
Drift
G04876274
Installing drive pinion rear bearing outer race
  1. a: 72 mm (2.83 in) dia. 
  2. b: 48 mm (1.89 in) dia. 
ST30611000
(J-25742-1)
Drift bar
G04876275
Installing drive pinion rear bearing outer race (Use with ST30613000)
KV38100200
(J-26233)
Drift
G04876266
Installing drive pinion front bearing outer race
  1. a: 65 mm (2.56 in) dia. 
  2. b: 49 mm (1.93 in) dia. 
ST30901000
(J-26010-01)
Drift
G04876276
Installing drive pinion rear bearing inner race
  1. a: 79 mm (3.11 in) dia. 
  2. b: 45 mm (1.77 in) dia. 
  3. c: 35.2 mm (1.386 in) dia. 
ST33200000
(J-26082)
Drift
G04875596
Installing drive pinion front bearing inner race
  1. a: 60 mm (2.36 in) dia. 
  2. b: 44.5 mm (1.752 in) dia. 
ST33230000
(J-35867)
Drift
G04910644
Installing side bearing inner race
  1. a: 51 mm (2.01 in) dia. 
  2. b: 41 mm (1.61 in) dia. 
  3. c: 28 mm (1.10 in) dia. 
( - )
(J-34309)
Differential shim selector tool
G04876279
Adjusting bearing preload and drive pinion height
( - )
(J-25269-18)
Side bearing disc (2 Req'd)
G04898665
Selecting drive pinion height adjusting washer
KV10112100
(BT-8653-A)
Angle wrench
G04878212
Tightening bolts for drive gear