LEMON Manuals: Even more car manuals for everyone: 1960-2025
Home >> Nissan-Datsun >> 2002 >> Sentra SE-R, Automatic >> Repair and Diagnosis >> External Pages >> Different car >> Section 412 (Automatic Transaxle - Re4F04B) >> Shift Control System >> Control Device >> Removal
April 5, 2026: LEMON Manuals is launched! Read the announcement.

Control Device: Removal

WARNING: This page is about a different car, the 2004 Nissan Maxima. However, it is still accessible from the selected car via links, so may be relevant.
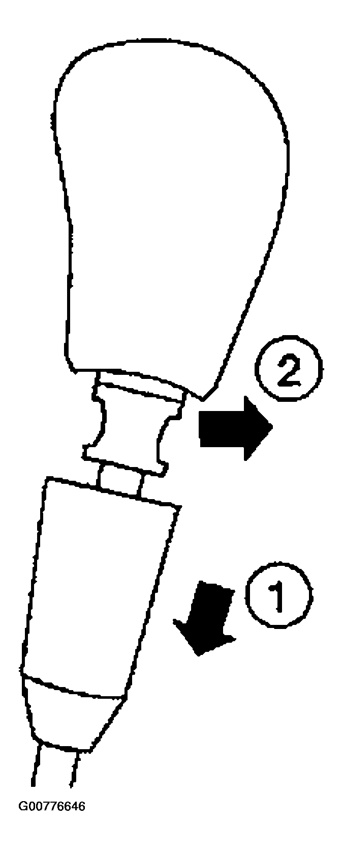
  1. Slide the selector knob cover downwards with fingers to reveal the selector knob clip.
  2. Remove selector knob clip outward as shown, then lift the selector knob up to remove.
Fig 1: Removing selector knob clip
G00776646Courtesy of NISSAN MOTOR CO., U.S.A.