LEMON Manuals: Even more car manuals for everyone: 1960-2025
Home >> Nissan-Datsun >> 2002 >> Sentra SE-R, Automatic >> Repair and Diagnosis >> External Pages >> Different car >> Section 841 (Front Wiper And Washer) >> Front Wiper & Washer System >> System Description >> BCM Wiper Switch Reading Function
April 5, 2026: LEMON Manuals is launched! Read the announcement.

BCM Wiper Switch Reading Function

WARNING: This page is about a different car, the 2003 Nissan Murano. However, it is still accessible from the selected car via links, so may be relevant.

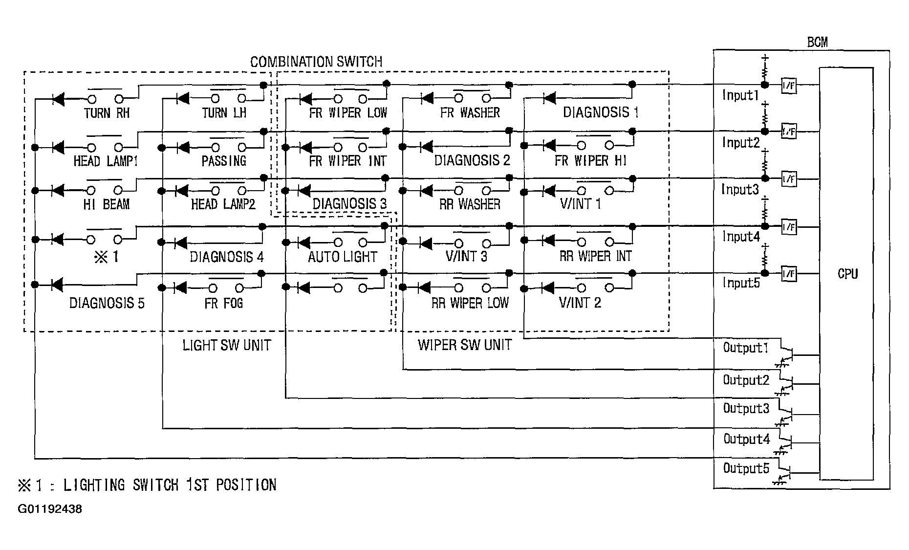
BCM reads combination switch (wiper switch) status, and controls front wipers based on the results.

BCM is a combination of 5 output terminals (OUTPUT 1 - 5) and 5 input terminals (INPUT 1 - 5). It reads 20 types of switch data and 5 types of diagnosis data.

Fig 1: BCM Wiper Switch Reading Function Diagram
G01192438Courtesy of NISSAN MOTOR CO., U.S.A.