LEMON Manuals: Even more car manuals for everyone: 1960-2025
Home >> Nissan-Datsun >> 2002 >> Sentra SE-R, Standard >> Repair and Diagnosis (Single Page) >> External Pages >> Different car >> Section 2013 (Lighting System) >> Headlamp (For CANADA) - Daytime Light System - >> Daytime Light Control Does Not Operate Properly (Normal Headlamps Operate Properly)
April 5, 2026: LEMON Manuals is launched! Read the announcement.

Daytime Light Control Does Not Operate Properly (Normal Headlamps Operate Properly)

WARNING: This page is about a different car, the 2007 Nissan Pathfinder. However, it is still accessible from the selected car via links, so may be relevant.
  1. CHECK DAYTIME LIGHT RELAY 1 POWER SUPPLY CIRCUIT 
    1. Remove daytime light relay 1.
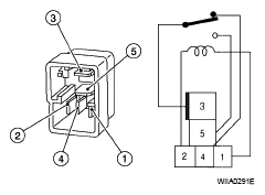
    2. Check voltage between daytime light relay 1 harness connector E103 terminals 2, 5 and ground.

      2, 5 - Ground : Battery voltage should exist. 

      Fig 1: Checking Voltage Between Daytime Light Relay 1 Connector E103 Terminals 2, 5 And Ground
      G04896412

    OK or NG 

    OK: GO TO 2.

    NG: Repair harness or connector.

  2. CHECK DAYTIME LIGHT RELAY 1 
    1. Apply battery voltage to daytime light relay 1 terminal 2 and ground terminal 1.
    2. Check continuity between terminals 3 and 5.

      3 - 5 : Continuity should exist. 

      Fig 2: Checking Continuity Between Terminals 3 And 5
      G04901494

    OK or NG 

    OK: GO TO 3.

    NG: Replace daytime light relay 1.

  3. CHECK INPUT SIGNAL 
    1. Connect daytime light relay 1.
    2. Start engine and release parking brake. Headlamp switch OFF.
    3. Select "IPDM E/R" on CONSULT-II. With data monitor, make sure "DTRL REQ" turns ON-OFF linked with operation of parking brake switch.

      Parking brake ON : DTRL REQ ON 

      Parking brake OFF : DTRL REQ OFF 

      Fig 3: Identifying CONSULT-II Display - DATA MONITOR
      G04896414

    OK or NG 

    OK: Replace IPDM E/R. Refer to "REMOVAL AND INSTALLATION OF IPDM E/R ".

    NG: GO TO 4.

  4. CHECKING CAN COMMUNICATIONS 

    Select "BCM" on CONSULT-II and perform self-diagnosis for BCM.

    Fig 4: Identifying CONSULT II Display - SELECT DIAG RESULTS
    G04903607

    Displayed self-diagnosis results 

    NO DTC: Replace BCM. Refer to "REMOVAL AND INSTALLATION ".

    CAN COMM CIRCUIT: Check BCM CAN communication system. Refer to "CAN COMMUNICATION INSPECTION USING CONSULT-II (SELF-DIAGNOSIS) ".