LEMON Manuals: Even more car manuals for everyone: 1960-2025
Home >> Nissan-Datsun >> 2002 >> Sentra SE-R, Standard >> Repair and Diagnosis >> External Pages >> Different car >> Section 1610 (Accelerator Control System) >> Accelerator Control System >> Removal and Installation >> Inspection After Installation
April 5, 2026: LEMON Manuals is launched! Read the announcement.

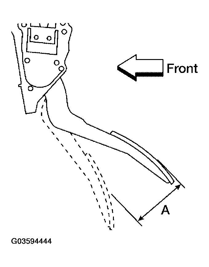
Inspection After Installation

WARNING: This page is about a different car, the 2005 Nissan Frontier. However, it is still accessible from the selected car via links, so may be relevant.
CAUTION: When the harness connector of the accelerator pedal position sensor is disconnected, perform "Accelerator Pedal Released Position Learning". Refer to "ACCELERATOR PEDAL RELEASED POSITION LEARNING " (QR), "ACCELERATOR PEDAL RELEASED POSITION LEARNING " (VQ).