LEMON Manuals: Even more car manuals for everyone: 1960-2025
Home >> Nissan-Datsun >> 2003 >> Maxima GLE >> Repair and Diagnosis >> Transmission >> Automatic Trans >> Automatic Transaxle >> Repair For Component Parts >> Control Valve Assembly >> Assembly
April 5, 2026: LEMON Manuals is launched! Read the announcement.

Control Valve Assembly: Assembly

  1. Install upper, inter and lower body.
    1. Place oil circuit of upper body face up. Install steel balls in their proper positions.
      Fig 1: Installing Steel Balls In Their Proper Positions
      G02063119Courtesy of NISSAN MOTOR CO., U.S.A.
    2. Install upper separating gasket, upper inter separating gasket and upper separating plate in order shown in illustration.
      Fig 2: Installing Upper Separating Gasket, Upper Inter Separating Gasket And Upper Separating Plate
      G02063120Courtesy of NISSAN MOTOR CO., U.S.A.
    3. Install reamer bolts from bottom of upper body. Using reamer bolts as guides, install separating plate and gaskets as a set.
      Fig 3: Installing Reamer Bolts F From Bottom Of Upper Body
      G02063121Courtesy of NISSAN MOTOR CO., U.S.A.
    4. Install pilot filter.
      Fig 4: Installing Pilot Filter
      G02063122Courtesy of NISSAN MOTOR CO., U.S.A.
    5. Place lower body as shown in illustration (side of inter body face up). Install steel balls in their proper positions.
      Fig 5: Placing Lower Body
      G02063123Courtesy of NISSAN MOTOR CO., U.S.A.
    6. Install inter body on upper body using reamer bolts as guides.
      • Be careful not to dislocate or drop steel balls. 
        Fig 6: Installing Inter Body On Upper Body Using Reamer Bolts As Guides
        G02063124Courtesy of NISSAN MOTOR CO., U.S.A.
    7. Install check balls and oil cooler relief valve springs in their proper positions in lower body.
      Fig 7: Installing Check Balls And Oil Cooler Relief Valve Springs In Their Proper Positions In Lower Body
      G02063125Courtesy of NISSAN MOTOR CO., U.S.A.
    8. Install lower separating gasket, lower inter separating gasket and lower separating plate in order shown in illustration.
      Fig 8: Installing Lower Separating Gasket, Lower Inter Separating Gasket And Lower Separating Plate
      G02063126Courtesy of NISSAN MOTOR CO., U.S.A.
    9. Install bolts from bottom of lower body. Using bolts as guides, install separating plate and gaskets as a set.
    10. Temporarily install support plates on lower body.
      Fig 9: Installing Support Plates On Lower Body
      G02063127Courtesy of NISSAN MOTOR CO., U.S.A.
    11. Install lower body on inter body using reamer bolts as guides and tighten reamer bolts slightly.
      Fig 10: Installing Lower Body On Inter Body Using Reamer Bolts
      G02063128Courtesy of NISSAN MOTOR CO., U.S.A.
  2. Install O-rings to solenoid valves and terminal body.
    • Apply ATF to O-rings. 
      Fig 11: Installing O-Rings To Solenoid Valves And Terminal Body
      G02063129Courtesy of NISSAN MOTOR CO., U.S.A.
  3. Install and tighten bolts.

    Bolt length, number and location: 

    Fig 12: Bolts Specification Table
    G02063130Courtesy of NISSAN MOTOR CO., U.S.A.
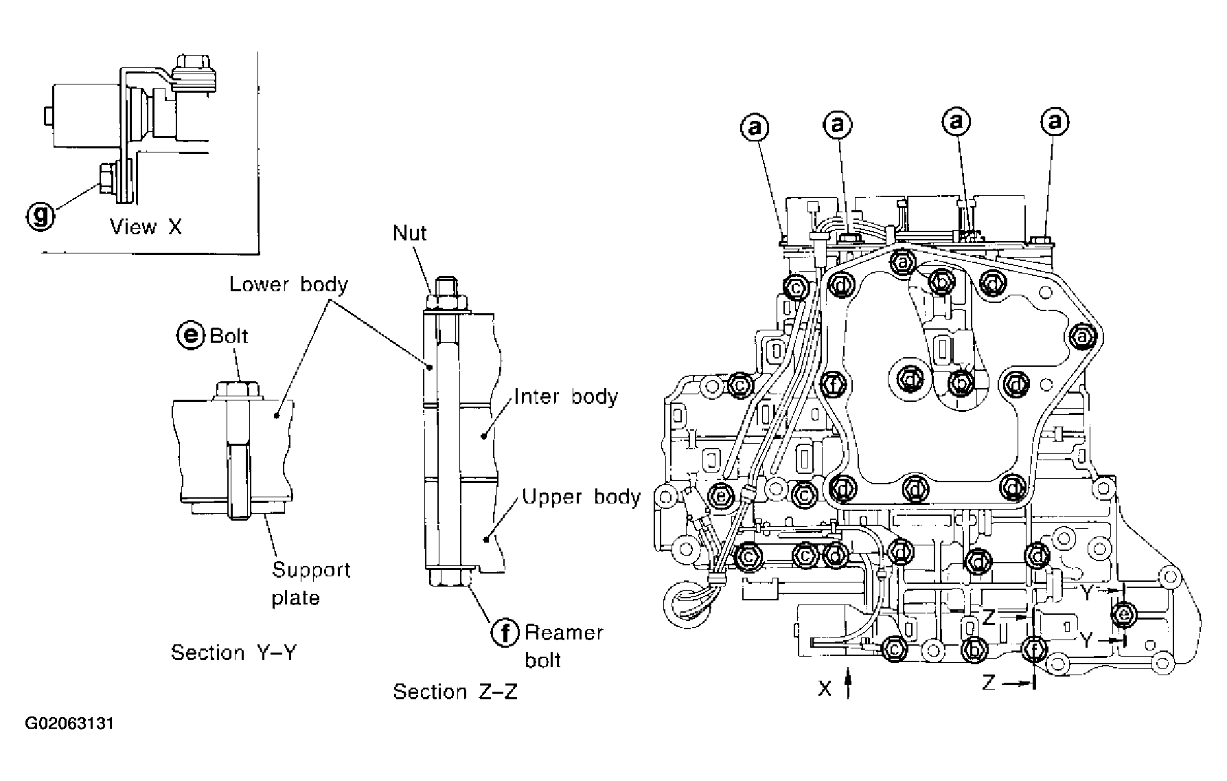
    Fig 13: Identifying Control Valve Assembly Bolts
    G02063131Courtesy of NISSAN MOTOR CO., U.S.A.
  1. Install and tighten bolts to specified torque.

    : 7-9 N.m (0.7-0.9 kg-m, 61-78 in-lb) 

    Fig 14: Installing And Tightening Bolts B To Specified Torque
    G02063132Courtesy of NISSAN MOTOR CO., U.S.A.
  2. Install solenoid valve assembly and line pressure solenoid valve to lower body.
    Fig 15: Installing Solenoid Valve Assembly And Line Pressure Solenoid Valve To Lower Body
    G02063133Courtesy of NISSAN MOTOR CO., U.S.A.
  3. Set oil strainer, then tighten bolts a, c, d  and nuts to specified torque.

    : 7-9 N.m (0.7-0.9 kg-m, 61-78 in-lb) 

    Fig 16: Setting Oil Stainer
    G02063134Courtesy of NISSAN MOTOR CO., U.S.A.
  4. Tighten bolts to specified torque.

    : 3.4-4.4 N.m (0.35-0.45 kg-m, 30.4- 39.1 in-lb) 

    Fig 17: Tightening Bolts E To Specified Torque
    G02063135Courtesy of NISSAN MOTOR CO., U.S.A.