LEMON Manuals: Even more car manuals for everyone: 1960-2025
Home >> Nissan-Datsun >> 2003 >> Sentra SE-R, Automatic >> Repair and Diagnosis >> External Pages >> Different car >> Section 1708 (Glass, Window System & Mirrors) >> Power Window System >> Front Power Window RH Circuit Check (Power Window and Door Lock/Unlock Switch RH Operation)
April 5, 2026: LEMON Manuals is launched! Read the announcement.

Front Power Window RH Circuit Check (Power Window and Door Lock/Unlock Switch RH Operation)

WARNING: This page is about a different car, the 2006 Nissan Pathfinder. However, it is still accessible from the selected car via links, so may be relevant.
  1. CHECK POWER WINDOW AND DOOR LOCK/UNLOCK SWITCH RH OUTPUT SIGNAL 
    1. Turn ignition switch OFF.
    2. Disconnect front power window motor RH.
    3. Turn ignition switch ON.
    4. Check voltage between front power window motor RH connector and ground.
    TERMINAL VOLTAGE SPECIFICATION

    Connector Terminals Condition Voltage (V) (Approx.)
    (+) (-)
    Front power window motor RH: D104 1 Ground UP 0
    DOWN Battery voltage
    2 UP Battery voltage
    DOWN 0
    Fig 1: Checking Voltage Between Front Power Window Motor RH Connector And Ground
    G04176003Courtesy of NISSAN MOTOR CO., U.S.A.

    OK or NG 

    OK: Replace front power window motor RH. Refer to , "FRONT DOOR GLASS REGULATOR "

    NG: GO TO 2.

  2. CHECK POWER SUPPLY CIRCUIT 
    1. Turn ignition switch ON.
    2. Check voltage between power window and door lock/unlock switch RH connector D105 terminal 8 and ground.

      8 - Ground: Battery voltage 

    OK or NG 

    OK: GO TO  4.

    NG: GO TO 3.

  3. CHECK POWER WINDOW AND DOOR LOCK/UNLOCK SWITCH RH POWER SUPPLY CIRCUIT 
    Fig 2: Checking Voltage Between Power Window And Door Lock/Unlock Switch RH Connector D105 Terminal 8 And Ground
    G04176004Courtesy of NISSAN MOTOR CO., U.S.A.
    1. Turn ignition switch OFF.
    2. Disconnect BCM and power window and door lock/unlock switch RH.
    3. Check continuity between BCM connector and power window and door lock/unlock switch RH connector.
      TERMINAL CONTINUITY

      Connector Terminal Connector Terminal Continuity
      A B
      BCM: M20 68 Power window and door lock/unlock switch RH: D105 8 Yes
    4. Check continuity between BCM and ground.
    TERMINAL CONTINUITY

    Connector Terminal Ground Continuity
    A
    BCM: M20 68 No
    Fig 3: Checking Continuity Between BCM Connector And Power Window And Door Lock/Unlock Switch RH Connector
    G04205652Courtesy of NISSAN MOTOR CO., U.S.A.

    OK or NG 

    OK: Check the condition of the harness and the connector.

    NG: Repair or replace harness.

  4. CHECK POWER WINDOW AND DOOR LOCK/UNLOCK SWITCH RH OUTPUT SIGNAL 
    1. Turn ignition switch ON.
    2. Check voltage between power window and door lock/unlock switch RH connector D105 terminals 6, 7 and ground.
    TERMINAL VOLTAGE SPECIFICATION

    Connector Terminals Condition Voltage (V) (Approx.)
    (+) (-)
    D105 7 Ground UP Battery voltage
    DOWN 0
    6 UP 0
    DOWN Battery voltage
    Fig 4: Checking Voltage Between Power Window And Door Lock/Unlock Switch RH Connector D105 Terminals 6, 7 And Ground
    G04176006Courtesy of NISSAN MOTOR CO., U.S.A.

    OK or NG 

    OK: GO TO 5.

    NG: GO TO  6.

  5. CHECK FRONT POWER WINDOW MOTOR RH CIRCUIT 
    1. Turn ignition switch OFF.
    2. Disconnect front power window motor RH and power window and door lock/unlock switch RH.
    3. Check continuity between power window and door lock/unlock switch RH connector D105 terminals 6, 7 and front power window motor RH connector D104 terminals 1, 2.

      7 - 2: Continuity should exist. 

      6 - 1: Continuity should exist. 

    4. Check continuity between power window and door lock/unlock switch RH connector D105 terminals 6, 7 and ground.

      6 - Ground: Continuity should not exist. 

      7 - Ground: Continuity should not exist. 

    Fig 5: Checking Continuity Between Power Window And Door Lock/Unlock Switch RH Connector D105 Terminals 6, 7 And Ground
    G04176007Courtesy of NISSAN MOTOR CO., U.S.A.

    OK or NG 

    OK: Replace front power window motor RH. Refer to , "FRONT DOOR GLASS REGULATOR "

    NG: Repair or replace harness.

  6. CHECK POWER WINDOW AND DOOR LOCK/UNLOCK SWITCH RH 
    1. Turn ignition switch OFF.
    2. Check continuity between power window and door lock/unlock switch RH terminals.
    TERMINAL CONTINUITY

    Power window and door lock/unlock switch RH Terminals Condition Continuity
    6 8 DOWN Yes
    NEUTRAL or UP No
    11 NEUTRAL or UP Yes
    DOWN No
    7 8 UP Yes
    NEUTRAL or DOWN No
    12 NEUTRAL or DOWN Yes
    UP No
    Fig 6: Checking Continuity Between Power Window And Door Lock/Unlock Switch RH Terminals
    G04205660Courtesy of NISSAN MOTOR CO., U.S.A.

    OK or NG 

    OK: GO TO 7.

    NG: Replace power window and door lock/unlock switch RH. Refer to "FRONT DOOR "

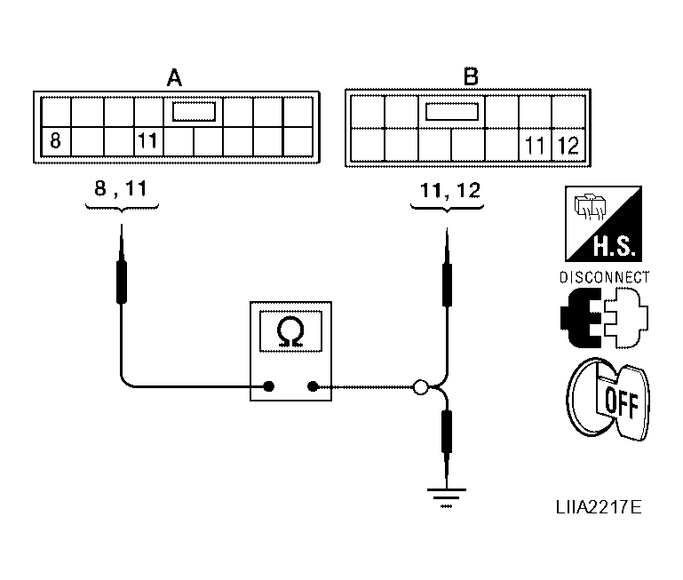
  7. CHECK POWER WINDOW AND DOOR LOCK/UNLOCK SWITCH RH GROUND SUPPLY 

    Check continuity between power window and door lock/unlock switch RH and ground.

    TERMINAL CONTINUITY

    Connector Terminals Continuity
    Power window and door lock/unlock switch: D105 11 Ground Yes
    12 Yes
    Fig 7: Checking Continuity Between Power Window And Door Lock/Unlock Switch RH And Ground
    G04205661Courtesy of NISSAN MOTOR CO., U.S.A.

    OK or NG 

    OK: Check the condition of the harness and the connector.

    NG: GO TO 8.

  8. CHECK GROUND SUPPLY CIRCUIT 
    1. Disconnect main power window and door lock/unlock switch and power window and door lock/unlock switch RH.
    2. Check continuity between main power window and door lock/unlock switch connector and power window and door lock/unlock switch RH connector.
      TERMINAL CONTINUITY

      Connector Terminal Connector Terminal Continuity
      A B
      Main power window and door lock/unlock switch: D7 8 Power window and door lock/unlock switch RH: D105 12 Yes
      11 11 Yes
    3. Check continuity between main power window and door lock/unlock switch connector and ground.
    TERMINAL CONTINUITY

    Connector Terminal Ground Continuity
    A
    Main power window and door lock/unlock switch: D7 8 No
    11 No
    Fig 8: Checking Continuity Between Main Power Window And Door Lock/Unlock Switch Connector And Ground
    G04176010Courtesy of NISSAN MOTOR CO., U.S.A.

    OK or NG 

    OK: GO TO 9.

    NG: Repair or replace harness.

  9. CHECK MAIN POWER WINDOW AND DOOR LOCK/UNLOCK SWITCH 

    Check continuity between main power window and door lock/unlock switch terminals.

    TERMINAL CONTINUITY

    Main power window and door lock/unlock switch Terminals Condition Continuity
    17 8 Lock switch UNLOCK Yes
    Lock switch LOCK No
    11 Lock switch UNLOCK Yes
    Lock switch LOCK No
    Fig 9: Checking Continuity Between Main Power Window And Door Lock/Unlock Switch Terminals
    G04176011Courtesy of NISSAN MOTOR CO., U.S.A.

    OK or NG 

    OK: Repair or replace harness.

    NG: Replace main power window and door lock/unlock switch. Refer to "FRONT DOOR "