LEMON Manuals: Even more car manuals for everyone: 1960-2025
Home >> Nissan-Datsun >> 2003 >> Sentra SE-R, Standard >> Repair and Diagnosis (Single Page) >> External Pages >> Different car >> Section 1422 (Front Final Drive) >> Front Final Drive Assembly >> Disassembly and Assembly >> Adjustment And Selection Of Adjusting Washers (Shims) >> Side Bearing Preload
April 5, 2026: LEMON Manuals is launched! Read the announcement.

Side Bearing Preload

WARNING: This page is about a different car, the 2005 Infiniti FX45 and 2005 Infiniti FX35. However, it is still accessible from the selected car via links, so may be relevant.
  1. Make sure all parts are clean. Also, make sure the bearings are well lubricated with gear oil.
  2. Press-fit side bearing outer race into side retainer with tool.
    1. Tool number A: KV31103000 ( - ) 
      1. B: ST30611000 (J-25742-1) 
    CAUTION:
    • At first, using a hammer, tap bearing outer race until it becomes flat to side retainer.
    • Do not reuse side bearing outer race.
    Fig 1: Installing Side Bearing Outer Race Into Side Retainer
    G02368007Courtesy of NISSAN MOTOR CO., U.S.A.
  3. Press-fit side bearing outer race into gear carrier with tool.
    1. Tool number A: KV31103000 ( - ) 
      1. B: ST30611000 (J-25742-1) 
    CAUTION:
    • At first, using a hammer, tap bearing outer race until it becomes flat to gear carrier.
    • Do not reuse side bearing outer race.
    Fig 2: Installing Side Bearing Outer Race Into Gear Carrier With Tool
    G02368008Courtesy of NISSAN MOTOR CO., U.S.A.
  4. Place the differential case assembly into gear carrier.
    Fig 3: Placing Differential Case Assembly Into Gear Carrier
    G02368009Courtesy of NISSAN MOTOR CO., U.S.A.
  5. Install side bearing adjusting shim before disassembling or shim which thickness is the same as the one before disassembling.
  6. Install side retainer assembly to gear carrier.
    CAUTION: Do not install O-ring.
    Fig 4: Installing Side Bearing Adjusting Shim Before Disassembling
    G02368010Courtesy of NISSAN MOTOR CO., U.S.A.
  7. Install side retainer mounting bolts to the specified torque. Refer to "COMPONENTS (VQ35DE MODELS) ", "COMPONENTS (VK45DE MODELS) ".
    Fig 5: Installing Side Retainer Mounting Bolts
    G02368011Courtesy of NISSAN MOTOR CO., U.S.A.
  8. Measure the turning torque of the gear carrier at the drive gear mounting bolts with a spring gauge.
    1. Tool number: - (J-8129) 
    2. Specification: 
    3. 0.78 - 1.08 N (0.08 - 0.11 kg, 0.57 - 0.80 lb) of pulling force at the drive gear bolt 
    Fig 6: Measuring Turning Torque Of Gear Carrier At Drive Gear Mounting Bolts
    G02368012Courtesy of NISSAN MOTOR CO., U.S.A.
  9. If the turning torque is outside the specification, use a thicker/ thinner side bearing adjusting shim to adjust. Refer to "SIDE BEARING ADJUSTING SHIM ".
    1. If the turning torque is less than the specified range: 
      1. Decrease the side bearing adjusting shim thickness. 
    2. If the turning torque is greater than the specification: 
      1. Increase the side bearing adjusting shim thickness. 
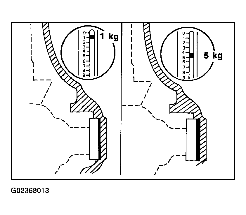
  10. Record the total amount of shim thickness required for the correct carrier side bearing preload.
    Fig 7: Recording Total Amount Of Shim Thickness Required For Correct Carrier Side Bearing Preload
    G02368013Courtesy of NISSAN MOTOR CO., U.S.A.