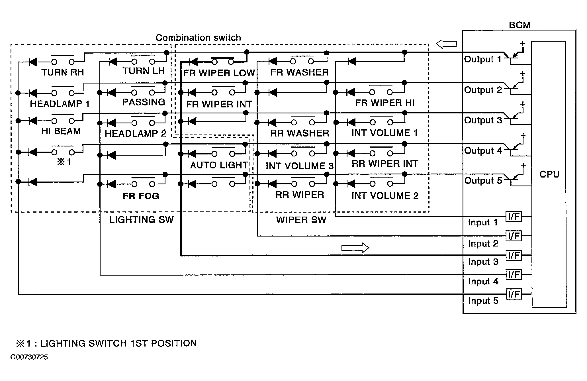
Sample Operation: (When wiper switch turned ON)
WARNING: This page is about a different car, the 2004 Nissan Murano. However, it is still accessible from the selected car via links, so may be relevant.
- When wiper switch is turned ON, contact in combination switch turns ON. At this time if OUTPUT 1 transistor is activated, BCM detects that voltage changes in INPUT 3.
- When OUTPUT 1 transistor is ON, BCM detects that voltage changes in INPUT 3, and judges that front wiper low is ON. Then BCM sends front wiper request signal (LO) to IPDM E/R using CAN communication.
- When OUTPUT 1 transistor is activated again, BCM detects that voltage changes in INPUT 3, and recognizes that wiper switch is continuously ON.
NOTE:
Each OUTPUT terminal transistor is activated at 10 ms intervals. Therefore after switch is turned ON, electrical loads are activated with time delay. But this time delay is so short that it cannot be detected by human senses.