LEMON Manuals: Even more car manuals for everyone: 1960-2025
Home >> Nissan-Datsun >> 2003 >> Sentra SE-R, Standard >> Repair and Diagnosis >> External Pages >> Different car >> Section 127 (Automatic Headlights) >> System Tests >> Test E: Initial Set Control Function Operates, But Headlight Aiming Does Not Operate (Warning Light Lights Up)
April 5, 2026: LEMON Manuals is launched! Read the announcement.

Test E: Initial Set Control Function Operates, But Headlight Aiming Does Not Operate (Warning Light Lights Up)

WARNING: This page is about a different car, the 2002 Lexus ES 300. However, it is still accessible from the selected car via links, so may be relevant.
  1. Check the continuity of the vehicle side wiring harness between headlight leveling ECU and the headlight leveling motor. See Fig 1. If there is continuity, go to the next step. If there is not continuity, repair and replace the harness or connector.
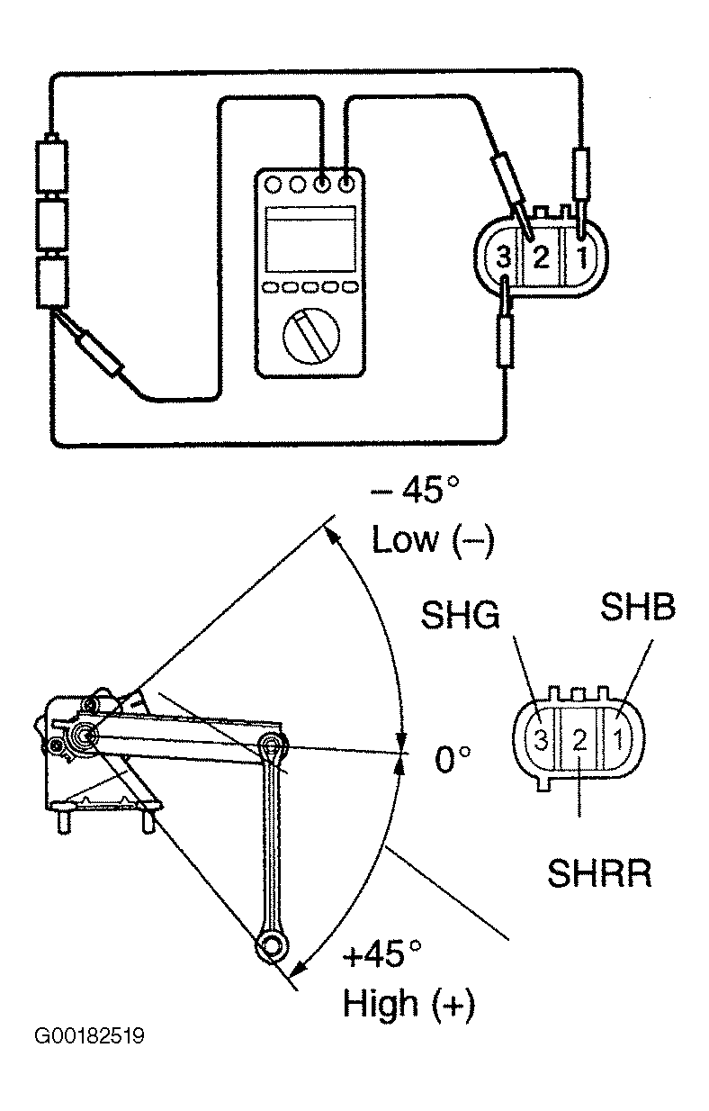
  2. Inspect the right rear height control sensor sub-assembly. Connect the 3 batteries (1.5 volts) in series. Connect the battery positive terminal to terminal SHB and the negative one to the terminal SHG to apply voltage of 4.5 volts between terminals SHB and SHG. See Fig 2. While slowly moving he link up and down with the voltage being applied, check the voltage between the terminals SHRR and SHG. See INSPECTING RH REAR HEIGHT CONTROL SENSOR TERMINALS SHRR & SHG VOLTAGE  table. If the voltage is OK, check and replace the headlight leveling ECU assembly. See HEADLIGHT ASSEMBLY  under REMOVAL & INSTALLATION. If the voltage is not good, replace the right rear height control sensor sub-assembly. See HEIGHT CONTROL SENSOR  under REMOVAL & INSTALLATION.
    INSPECTING RH REAR HEIGHT CONTROL SENSOR TERMINALS SHRR & SHG VOLTAGE

    Link Angle STP Voltage (V)
    +45° (High) 4.1
    0° (Normal) 2.25
    -45° (Low) 0.5
Fig 1: Identifying Initial Set Control Function (Headlight Aiming Does Not Operate, Warning Light Lights) Circuit
G00182518Courtesy of © TOYOTA, LICENSE AGREEMENT TMS1002
Fig 2: Inspecting RH Rear Height Control Sensor Voltage
G00182519Courtesy of © TOYOTA, LICENSE AGREEMENT TMS1002