LEMON Manuals: Even more car manuals for everyone: 1960-2025
Home >> Nissan-Datsun >> 2003 >> Sentra SE-R, Standard >> Repair and Diagnosis >> External Pages >> Different car >> Section 1492 (Automatic Air Conditioner) >> Air Conditioner Control >> Description of Control System
April 5, 2026: LEMON Manuals is launched! Read the announcement.

Description of Control System

WARNING: This page is about a different car, the 2005 Nissan Quest. However, it is still accessible from the selected car via links, so may be relevant.

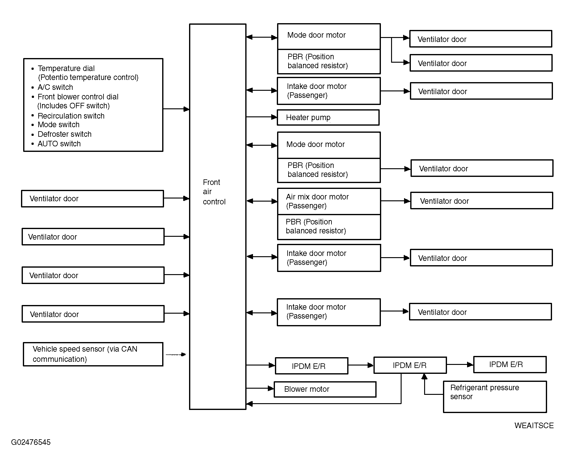
The control system consists of input sensors, switches, the front air control (microcomputer) and outputs.

The relationship of these components is shown in the figure below:

Fig 1: Control System Description Flow Chart
G02476545Courtesy of NISSAN MOTOR CO., U.S.A.