LEMON Manuals: Even more car manuals for everyone: 1960-2025
Home >> Nissan-Datsun >> 2003 >> Sentra SE-R, Standard >> Repair and Diagnosis >> External Pages >> Different car >> Section 1614 (Automatic Transmission) >> Disassembly >> Disassembly
April 5, 2026: LEMON Manuals is launched! Read the announcement.

Section 1614 (Automatic Transmission): Disassembly: Disassembly

WARNING: This page is about a different car, the 2005 Nissan Frontier. However, it is still accessible from the selected car via links, so may be relevant.
CAUTION: Do not disassemble parts behind drum support. Refer to "CROSS-SECTIONAL VIEW ".
  1. Drain ATF through drain plug.
  2. Remove torque converter by holding it firmly and turning while pulling straight out.
    Fig 1: Removing Torque Converter
    G03595034Courtesy of NISSAN MOTOR CO., U.S.A.
  3. Check torque converter one-way clutch using a check tool as shown in Fig 2.
    1. Insert a check tool into the groove of bearing support built into one-way clutch outer race.
    2. While holding bearing support with a check tool, rotate one-way clutch spline using a suitable tool.
    3. Make sure that inner race rotates clockwise only. If not, replace torque converter assembly.
      Fig 2: Checking Torque Converter One-Way Clutch
      G03595035Courtesy of NISSAN MOTOR CO., U.S.A.
  4. Remove converter housing from transmission case.
    CAUTION: Be careful not to scratch converter housing.
    Fig 3: Removing Converter Housing From Transmission Case
    G03595036Courtesy of NISSAN MOTOR CO., U.S.A.
  5. Remove O-ring from input clutch assembly.
    Fig 4: Removing O-Ring From Input Clutch Assembly
    G03595037Courtesy of NISSAN MOTOR CO., U.S.A.
  6. Remove bolts for oil pump assembly and transmission case.
    Fig 5: Removing Oil Pump Assembly And Transmission Case Bolts
    G03595038Courtesy of NISSAN MOTOR CO., U.S.A.
  7. Attach the sliding hammers to oil pump assembly and extract it evenly from transmission case.
    CAUTION:
    • Fully tighten the sliding hammer screws.
    • Make sure that bearing race is installed to the oil pump assembly edge surface.
      Fig 6: Removing Oil Pump Assembly
      G03595039Courtesy of NISSAN MOTOR CO., U.S.A.
  8. Remove O-ring from oil pump assembly.
    Fig 7: Removing O-Ring From Oil Pump Assembly
    G03595040Courtesy of NISSAN MOTOR CO., U.S.A.
  9. Remove bearing race from oil pump assembly.
    Fig 8: Removing Bearing Race From Oil Pump Assembly
    G03595041Courtesy of NISSAN MOTOR CO., U.S.A.
  10. Remove needle bearing from front sun gear.
    Fig 9: Removing Needle Bearing From Front Sun Gear
    G03595042Courtesy of NISSAN MOTOR CO., U.S.A.
  11. Remove front sun gear assembly from front carrier assembly.
    NOTE: Remove front sun gear by rotating left/right.
    Fig 10: Removing Front Sun Gear Assembly From Front Carrier Assembly
    G03595043Courtesy of NISSAN MOTOR CO., U.S.A.
  12. Remove seal rings from input clutch assembly.
    Fig 11: Removing Seal Rings From Input Clutch Assembly
    G03595044Courtesy of NISSAN MOTOR CO., U.S.A.
  13. Remove front carrier assembly from rear carrier assembly (with input clutch assembly and rear internal gear).
    CAUTION: Be careful to remove it with needle bearing.
    Fig 12: Removing Front Carrier Assembly From Rear Carrier Assembly
    G03595045Courtesy of NISSAN MOTOR CO., U.S.A.
  14. Loosen lock nut and remove band servo anchor end pin from transmission case.
    Fig 13: Removing Band Servo Anchor End Pin From Transmission Case
    G03595046Courtesy of NISSAN MOTOR CO., U.S.A.
  15. Remove brake band from transmission case.
    Fig 14: Removing Brake Band From Transmission Case
    G03595047Courtesy of NISSAN MOTOR CO., U.S.A.
    • To prevent brake linings from cracking or peeling, do not stretch the flexible band unnecessarily. When removing the brake band, always secure it with a clip as shown in  Fig 15 . Leave the clip in position after removing the brake band  .
    • Check brake band facing for damage, cracks, wear or burns  .
    Fig 15: Securing Brake Band With Clip
    G03595048Courtesy of NISSAN MOTOR CO., U.S.A.
  16. Remove mid carrier assembly and rear carrier assembly as a unit.
    Fig 16: Removing Mid Carrier Assembly And Rear Carrier Assembly
    G03595049Courtesy of NISSAN MOTOR CO., U.S.A.
  17. Remove mid carrier assembly from rear carrier assembly.
    Fig 17: Removing Mid Carrier Assembly From Rear Carrier Assembly
    G03595050Courtesy of NISSAN MOTOR CO., U.S.A.
  18. Remove needle bearing (front side) from mid carrier assembly.
    Fig 18: Removing Needle Bearing (Front Side) From Mid Carrier Assembly
    G03595051Courtesy of NISSAN MOTOR CO., U.S.A.
  19. Remove needle bearing (rear side) from mid carrier assembly.
    Fig 19: Removing Needle Bearing (Rear Side) From Mid Carrier Assembly
    G03595052Courtesy of NISSAN MOTOR CO., U.S.A.
  20. Remove bearing race from rear carrier assembly.
    Fig 20: Removing Bearing Race From Rear Carrier Assembly
    G03595053Courtesy of NISSAN MOTOR CO., U.S.A.
  21. Remove needle bearing from rear carrier assembly.
    Fig 21: Removing Needle Bearing From Rear Carrier Assembly
    G03595054Courtesy of NISSAN MOTOR CO., U.S.A.
  22. Remove mid sun gear assembly, rear sun gear assembly and high and low reverse clutch hub as a unit.
    CAUTION: Be careful to remove then with bearing race and needle bearing.
    Fig 22: Removing Mid Sun Gear Assembly, Rear Sun Gear Assembly And High And Low Reverse Clutch Hub
    G03595055Courtesy of NISSAN MOTOR CO., U.S.A.
  23. Remove high and low reverse clutch assembly from direct clutch assembly.
    CAUTION: Make sure that needle bearing is installed to the high and low reverse clutch assembly edge surface.
    Fig 23: Removing High And Low Reverse Clutch Assembly From Direct Clutch Assembly
    G03595056Courtesy of NISSAN MOTOR CO., U.S.A.
  24. Remove needle bearing from drum support.
    Fig 24: Removing Direct Clutch Assembly From Reverse Brake
    G03595057Courtesy of NISSAN MOTOR CO., U.S.A.
  25. Remove direct clutch assembly from reverse brake.
    Fig 25: Removing Needle Bearing From Drum Support
    G03595058Courtesy of NISSAN MOTOR CO., U.S.A.
  26. Remove snap ring from A/T assembly harness connector.
    Fig 26: Removing Snap Ring From A/T Assembly Harness Connector
    G03595059Courtesy of NISSAN MOTOR CO., U.S.A.
  27. Push A/T assembly harness connector.
    CAUTION: Be careful not to damage connector.
    Fig 27: Pushing A/T Assembly Harness Connector
    G03595060Courtesy of NISSAN MOTOR CO., U.S.A.
  28. Remove oil pan and oil pan gasket.
    Fig 28: Removing Oil Pan And Oil Pan Gasket
    G03595061Courtesy of NISSAN MOTOR CO., U.S.A.
  29. Check for foreign materials in oil pan to help determine cause of malfunction. If the A/T fluid is very dark, smells burned, or contains foreign particles, the friction material (clutches, band) may need replacement. A tacky film that will not wipe clean indicates varnish build up. Varnish can cause valves, servo, and clutches to stick and can inhibit pump pressure.
    CAUTION: If friction material is detected, flush the transmission cooler after repair. Refer to "A/T FLUID COOLER CLEANING ".
    Fig 29: Removing Foreign Materials In Oil Pan
    G03595062Courtesy of NISSAN MOTOR CO., U.S.A.
  30. Remove magnets from oil pan.
    Fig 30: Removing Magnets From Oil Pan
    G03595063Courtesy of NISSAN MOTOR CO., U.S.A.
  31. Straighten terminal clips to free terminal cord assembly and A/T fluid temperature sensor 2 harness.
  32. Disconnect A/T fluid temperature sensor 2 connector.
    CAUTION: Be careful not to damage connector.
    Fig 31: Disconnecting A/T Fluid Temperature Sensor 2 Connector
    G03595064Courtesy of NISSAN MOTOR CO., U.S.A.
  33. Straighten terminal clips to free revolution sensor harness.
  34. Disconnect revolution sensor connector.
    CAUTION: Be careful not to damage connector.
    Fig 32: Removing Terminal Cord Assembly And A/T Fluid Temperature Sensor 2 Harness
    G03595065Courtesy of NISSAN MOTOR CO., U.S.A.
  35. Remove bolts A, B and C from control valve with TCM.
    Fig 33: Identifying Control Valve Bolts
    G03595066Courtesy of NISSAN MOTOR CO., U.S.A.
    CONTROL VALVE BOLT LENGTH IDENTIFICATION

    Bolt symbol Length mm (in) Number of bolts
    A 42 (1.65) 5
    B 55 (2.17) 6
    C 40 (1.57) 1
  36. Remove control valve with TCM from transmission case.
    CAUTION: When removing, be careful with the manual valve notch and manual plate height. Remove it vertically.
    Fig 34: Removing Control Valve With TCM From Transmission Case
    G03595067Courtesy of NISSAN MOTOR CO., U.S.A.
  37. Remove A/T fluid temperature sensor 2 with bracket from control valve with TCM.
    Fig 35: Removing A/T Fluid Temperature Sensor 2 With Bracket From Control Valve With TCM
    G03595068Courtesy of NISSAN MOTOR CO., U.S.A.
  38. Remove bracket from A/T fluid temperature sensor 2.
    Fig 36: Removing Control Valve With TCM From Transmission Case
    G03595069Courtesy of NISSAN MOTOR CO., U.S.A.
  39. Remove O-ring from A/T assembly harness connector.
    Fig 37: Removing A/T Fluid Temperature Sensor 2 With Bracket From Control Valve With TCM
    G03595070Courtesy of NISSAN MOTOR CO., U.S.A.
  40. Disconnect TCM connectors.
    CAUTION: Be careful not to damage connectors.
    Fig 38: Disconnecting TCM Connectors
    G03595071Courtesy of NISSAN MOTOR CO., U.S.A.
  41. Remove A/T assembly harness connector from control valve with TCM using suitable tool.
    Fig 39: Removing A/T Assembly Harness Connector From Control Valve With TCM
    G03595072Courtesy of NISSAN MOTOR CO., U.S.A.
  42. Disconnect TCM connector and park/neutral position switch connector.
    CAUTION: Be careful not to damage connectors.
    Fig 40: Disconnecting TCM And Park/Neutral Position Switch Connectors
    G03595073Courtesy of NISSAN MOTOR CO., U.S.A.
  43. Remove rear extension assembly (2WD models) or adapter case assembly (4WD models) according to the following procedures.
    1. 2WD models 
      1. Remove bolts for rear extension assembly and transmission case.
        Fig 41: Removing Bolts For Rear Extension Assembly And Transmission Case
        G03595074Courtesy of NISSAN MOTOR CO., U.S.A.
      2. Tap rear extension assembly using suitable tool.
        Fig 42: Taping Rear Extension Assembly
        G03595075Courtesy of NISSAN MOTOR CO., U.S.A.
      3. Remove rear extension assembly from transmission case (with needle bearing).
        Fig 43: Removing Rear Extension Assembly From Transmission Case
        G03595076Courtesy of NISSAN MOTOR CO., U.S.A.
    2. 4WD models 
      1. Remove bolts (1) for adapter case assembly and transmission case [with terminal bracket (2)].
        • Self-sealing bolt (3)
          Fig 44: Removing Bolts (1) For Adapter Case Assembly And Transmission Case [With Terminal Bracket (2)].
          G03595077Courtesy of NISSAN MOTOR CO., U.S.A.
      2. Tap adapter case assembly using suitable tool.
        Fig 45: Taping Adapter Case Assembly
        G03595078Courtesy of NISSAN MOTOR CO., U.S.A.
      3. Remove adapter case assembly from transmission case (with needle bearing).
        Fig 46: Removing Adapter Case Assembly From Transmission Case (With Needle Bearing)
        G03595079Courtesy of NISSAN MOTOR CO., U.S.A.
      4. Remove gasket from transmission case.
        Fig 47: Removing Gasket From Transmission Case
        G03595080Courtesy of NISSAN MOTOR CO., U.S.A.
  44. Remove bearing race from output shaft.
    Fig 48: Removing Bearing Race From Output Shaft
    G03595081Courtesy of NISSAN MOTOR CO., U.S.A.
  45. Remove output shaft from transmission case by rotating left/right.
    Fig 49: Removing Output Shaft From Transmission Case
    G03595082Courtesy of NISSAN MOTOR CO., U.S.A.
  46. Remove parking gear from output shaft.
    Fig 50: Removing Parking Gear From Output Shaft
    G03595083Courtesy of NISSAN MOTOR CO., U.S.A.
  47. Remove seal rings from output shaft.
    Fig 51: Removing Seal Rings From Output Shaft
    G03595084Courtesy of NISSAN MOTOR CO., U.S.A.
  48. Remove needle bearing from transmission case.
    Fig 52: Removing Needle Bearing From Transmission Case
    G03595085Courtesy of NISSAN MOTOR CO., U.S.A.
  49. Remove revolution sensor from transmission case.
    Fig 53: Removing Revolution Sensor From Transmission Case
    G03595086Courtesy of NISSAN MOTOR CO., U.S.A.
    CAUTION:
    • Do not subject it to impact by dropping or hitting it.
    • Do not disassemble.
    • Do not allow metal filings or debris to get on the sensor's front edge magnetic area.
    • Do not place in an area affected by magnetism.
  50. Remove reverse brake snap ring (fixing plate) using suitable tools.
    Fig 54: Removing Reverse Brake Snap Ring (Fixing Plate)
    G03595087Courtesy of NISSAN MOTOR CO., U.S.A.
    NOTE: Press out snap ring from the transmission case oil pan side gap using a suitable tool, and remove it using another suitable tool.
  51. Remove reverse brake retaining plate from transmission case.
    • Check facing for burns, cracks or damage. If necessary, replace the plate.
  52. Remove N-spring from transmission case.
    Fig 55: Removing N-spring From Transmission Case
    G03595088Courtesy of NISSAN MOTOR CO., U.S.A.
  53. Remove reverse brake drive plates, driven plates and dish plate from transmission case.
    • Check facing for burns, cracks or damage. If necessary, replace the plate  .
      Fig 56: Removing Reverse Brake Drive Plates, Driven Plates And Dish Plate From Transmission Case
      G03595089Courtesy of NISSAN MOTOR CO., U.S.A.
  54. Remove snap ring (spring retainer) using suitable tool.
    Fig 57: Removing Seal Rings From Drum Support
    G03595090Courtesy of NISSAN MOTOR CO., U.S.A.
  55. Remove spring retainer and return spring from transmission case.
    Fig 58: Removing Spring Retainer And Return Spring From Transmission Case
    G03595091Courtesy of NISSAN MOTOR CO., U.S.A.
  56. Remove seal rings from drum support.
    Fig 59: Removing Seal Rings From Drum Support
    G03595092Courtesy of NISSAN MOTOR CO., U.S.A.
  57. Remove needle bearing from drum support edge surface.
    Fig 60: Removing Needle Bearing From Drum Support Edge Surface
    G03595093Courtesy of NISSAN MOTOR CO., U.S.A.
  58. Remove reverse brake piston from transmission case with compressed air. Refer to "OIL CHANNEL ".
    CAUTION: Care should be taken not to abruptly blow air. It makes pistons incline, as the result, it becomes hard to disassemble the pistons.
    Fig 61: Removing Reverse Brake Piston From Transmission Case With Compressed Air
    G03595094Courtesy of NISSAN MOTOR CO., U.S.A.
  59. Remove D-rings from reverse brake piston.
    Fig 62: Removing D-Rings From Reverse Brake Piston
    G03595095Courtesy of NISSAN MOTOR CO., U.S.A.
  60. Knock out retaining pin using suitable tool.
    Fig 63: Removing Manual Plate (With Parking Rod) From Manual Shaft
    G03595096Courtesy of NISSAN MOTOR CO., U.S.A.
  61. Remove manual shaft retaining pin using suitable tool.
    Fig 64: Removing Manual Shaft Retaining Pin
    G03595097Courtesy of NISSAN MOTOR CO., U.S.A.
  62. Remove manual plate (with parking rod) from manual shaft.
    Fig 65: Removing Manual Plate (With Parking Rod) From Manual Shaft
    G03595098Courtesy of NISSAN MOTOR CO., U.S.A.
  63. Remove parking rod from manual plate.
    Fig 66: Removing Parking Rod From Manual Plate
    G03595099Courtesy of NISSAN MOTOR CO., U.S.A.
  64. Remove manual shaft from transmission case.
    Fig 67: Removing Manual Shaft From Transmission Case
    G03595100Courtesy of NISSAN MOTOR CO., U.S.A.
  65. Remove manual shaft oil seals using suitable tool.
    CAUTION: Be careful not to scratch transmission case.
    Fig 68: Removing Manual Shaft Oil Seals
    G03595101Courtesy of NISSAN MOTOR CO., U.S.A.
  66. Remove detent spring and spacer from transmission case.
    Fig 69: Removing Detent Spring And Spacer From Transmission Case
    G03595102Courtesy of NISSAN MOTOR CO., U.S.A.
  67. Remove snap ring from transmission case using suitable tool.
    Fig 70: Removing Snap Ring From Transmission Case
    G03595103Courtesy of NISSAN MOTOR CO., U.S.A.
  68. Remove servo assembly (with return spring) from transmission case.
    Fig 71: Removing Servo Assembly (With Return Spring) From Transmission Case
    G03595104Courtesy of NISSAN MOTOR CO., U.S.A.
  69. Remove return spring from servo assembly.
    Fig 72: Removing Return Spring From Servo Assembly
    G03595105Courtesy of NISSAN MOTOR CO., U.S.A.
  70. Remove O-rings from servo assembly.
    Fig 73: Removing O-Rings From Servo Assembly
    G03595106Courtesy of NISSAN MOTOR CO., U.S.A.
  71. Remove needle bearing (1) from rear extension (2WD models) or adapter case (4WD models).
    Fig 74: Removing Needle Bearing (1) From Rear Extension (2WD Models) Or Adapter Case (4WD Models)
    G03595107Courtesy of NISSAN MOTOR CO., U.S.A.
  72. Remove parking actuator support from rear extension (2WD models) or adapter case (4WD models).
    Fig 75: Removing Parking Actuator Support From Rear Extension (2WD Models) Or Adapter Case (4WD Models)
    G03595108Courtesy of NISSAN MOTOR CO., U.S.A.
  73. Remove parking pawl (with return spring) and pawl shaft from rear extension (2WD models) or adapter case (4WD models).
    Fig 76: Removing Parking Pawl And Pawl Shaft From Rear Extension Case
    G03595109Courtesy of NISSAN MOTOR CO., U.S.A.
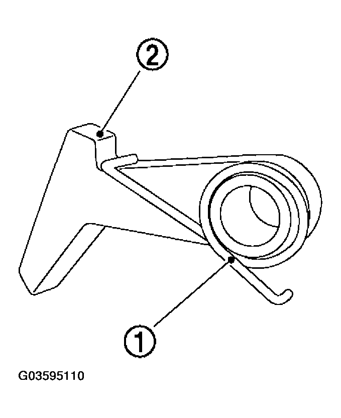
  74. Remove return spring (1) from parking pawl (2).
    Fig 77: Removing Return Spring From Parking Pawl
    G03595110Courtesy of NISSAN MOTOR CO., U.S.A.
  75. Remove rear oil seal from rear extension (2WD models) or adapter case (4WD models).
    CAUTION: Be careful not to scratch rear extension (2WD models) or adapter case (4WD models).
    Fig 78: Removing Rear Oil Seal From Rear Extension (2WD Models) Or Adapter Case (4WD Models)
    G03595111Courtesy of NISSAN MOTOR CO., U.S.A.