LEMON Manuals: Even more car manuals for everyone: 1960-2025
Home >> Nissan-Datsun >> 2003 >> Sentra SE-R, Standard >> Repair and Diagnosis >> External Pages >> Different car >> Section 1708 (Glass, Window System & Mirrors) >> Power Window System >> Front Power Window RH Circuit Check (Main Power Window and Door Lock/Unlock Switch Operation)
April 5, 2026: LEMON Manuals is launched! Read the announcement.

Front Power Window RH Circuit Check (Main Power Window and Door Lock/Unlock Switch Operation)

WARNING: This page is about a different car, the 2006 Nissan Pathfinder. However, it is still accessible from the selected car via links, so may be relevant.
  1. CHECK MAIN POWER WINDOW AND DOOR LOCK/UNLOCK SWITCH OUTPUT SIGNAL 
    1. Turn ignition switch OFF.
    2. Disconnect front power window motor RH.
    3. Turn ignition switch ON.
    4. Check voltage between front power window motor RH connector and ground.
    TERMINAL VOLTAGE SPECIFICATION

    Connector Terminals Condition Voltage (V) (Approx.)
    (+) (-)
    Front power window motor RH: D104 1 Ground UP 0
    DOWN Battery voltage
    2 UP Battery voltage
    DOWN 0
    Fig 1: Checking Voltage Between Front Power Window Motor RH Connector And Ground
    G04176012Courtesy of NISSAN MOTOR CO., U.S.A.

    OK or NG 

    OK: Replace front power window motor RH. Refer to , "FRONT DOOR GLASS REGULATOR "

    NG: GO TO 2.

  2. CHECK FRONT POWER WINDOW MOTOR RH CIRCUIT 
    1. Turn ignition switch OFF.
    2. Disconnect front power window motor RH and power window and door lock/unlock switch RH.
    3. Check continuity between power window and door lock/unlock switch RH connector D105 terminals 6, 7 and front power window motor RH connector D104 terminals 1, 2.

      7 - 2: Continuity should exist. 

      6 - 1: Continuity should exist. 

    4. Check continuity between power window and door lock/unlock switch RH connector D105 terminals 6, 7 and ground.

      6 - Ground: Continuity should not exist. 

      7 - Ground: Continuity should not exist. 

    Fig 2: Checking Continuity Between Power Window And Door Lock/Unlock Switch RH Connector D105 Terminals 6, 7 And Ground
    G04176013Courtesy of NISSAN MOTOR CO., U.S.A.

    OK or NG 

    OK: GO TO 3.

    NG: Repair or replace harness.

  3. CHECK POWER WINDOW AND DOOR LOCK/UNLOCK SWITCH RH 
    1. Turn ignition switch OFF.
    2. Check continuity between power window and door lock/unlock switch RH terminals.
    TERMINAL CONTINUITY

    Power window and door lock/unlock switch Terminals Continuity
    6 11 Yes
    7 12 Yes
    Fig 3: Checking Continuity Between Power Window And Door Lock/Unlock Switch RH Terminals
    G04205666Courtesy of NISSAN MOTOR CO., U.S.A.

    OK or NG 

    OK: GO TO 4.

    NG: Replace power window and door lock/unlock switch RH. Refer to "FRONT DOOR "

  4. CHECK GROUND SUPPLY CIRCUIT 
    1. Turn ignition switch OFF.
    2. Disconnect main power window and door lock/unlock switch and power window and door lock/unlock switch RH.
    3. Check continuity between main power window and door lock/unlock switch connector and power window and door lock/unlock switch RH connector.
      TERMINAL CONTINUITY

      Connector Terminal Connector Terminal Continuity
      A B
      Main power window and door lock/unlock switch: D7 8 Power window and door lock/unlock switch RH: D105 12 Yes
      11 11 Yes
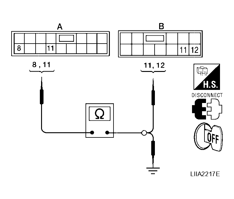
    4. Check continuity between main power window and door lock/unlock switch connector and ground.
    TERMINAL CONTINUITY

    Connector Terminal Ground Continuity
    A
    Main power window and door lock/unlock switch: D7 8 No
    11 No
    Fig 4: Checking Continuity Between Main Power Window And Door Lock/Unlock Switch Connector And Ground
    G04176015Courtesy of NISSAN MOTOR CO., U.S.A.

    OK or NG 

    OK: GO TO 5.

    NG: Repair or replace harness.

  5. CHECK MAIN POWER WINDOW AND DOOR LOCK/UNLOCK SWITCH SIGNAL 
    1. Connect main power window and door lock/unlock switch.
    2. Turn ignition switch ON.
    3. Check voltage between main power window and door lock/unlock switch connector and ground.
    TERMINAL VOLTAGE SPECIFICATION

    Connector Terminals Condition Voltage (V)(Approx)
    (+) (-)
    Main power window and door lock/unlock switch: D7 8 Ground UP Battery voltage
    DOWN 0
    11 UP 0
    DOWN Battery voltage
    Fig 5: Checking Voltage Between Main Power Window And Door Lock/Unlock Switch Connector And Ground
    G04176016Courtesy of NISSAN MOTOR CO., U.S.A.

    OK or NG 

    OK: Repair or replace harness.

    NG: Replace main power window and door lock/unlock switch. Refer to "FRONT DOOR "