LEMON Manuals: Even more car manuals for everyone: 1960-2025
Home >> Nissan-Datsun >> 2003 >> Sentra SE-R, Standard >> Repair and Diagnosis >> External Pages >> Different car >> Section 736 (General Information) >> Consult-II Checking System >> CONSULT-II Data Link Connector (DLC) Circuit >> Notes
April 5, 2026: LEMON Manuals is launched! Read the announcement.

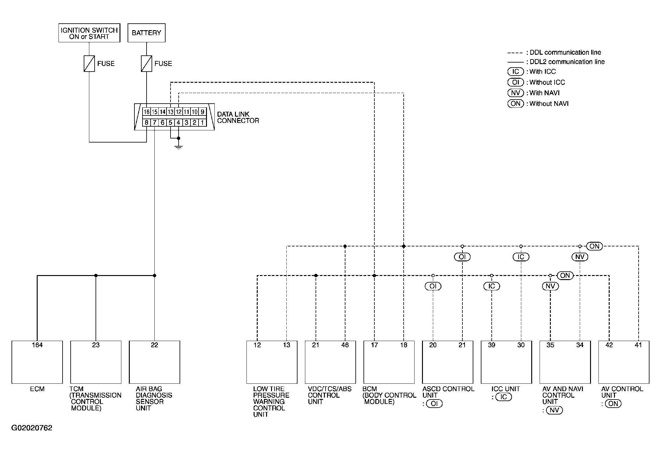
CONSULT-II Data Link Connector (DLC) Circuit: Notes

WARNING: This page is about a different car, the 2003 Infiniti M45. However, it is still accessible from the selected car via links, so may be relevant.
Fig 1: Identifying CONSULT-II Data Link Connector (DLC) Circuit
G02020762Courtesy of NISSAN MOTOR CO., U.S.A.