LEMON Manuals: Even more car manuals for everyone: 1960-2025
Home >> Nissan-Datsun >> 2003 >> Sentra SE-R, Standard >> Repair and Diagnosis >> External Pages >> Different car >> Section 764 (Engine Lubrication System) >> VQ35DE >> Lubrication System >> System Drawing
April 5, 2026: LEMON Manuals is launched! Read the announcement.

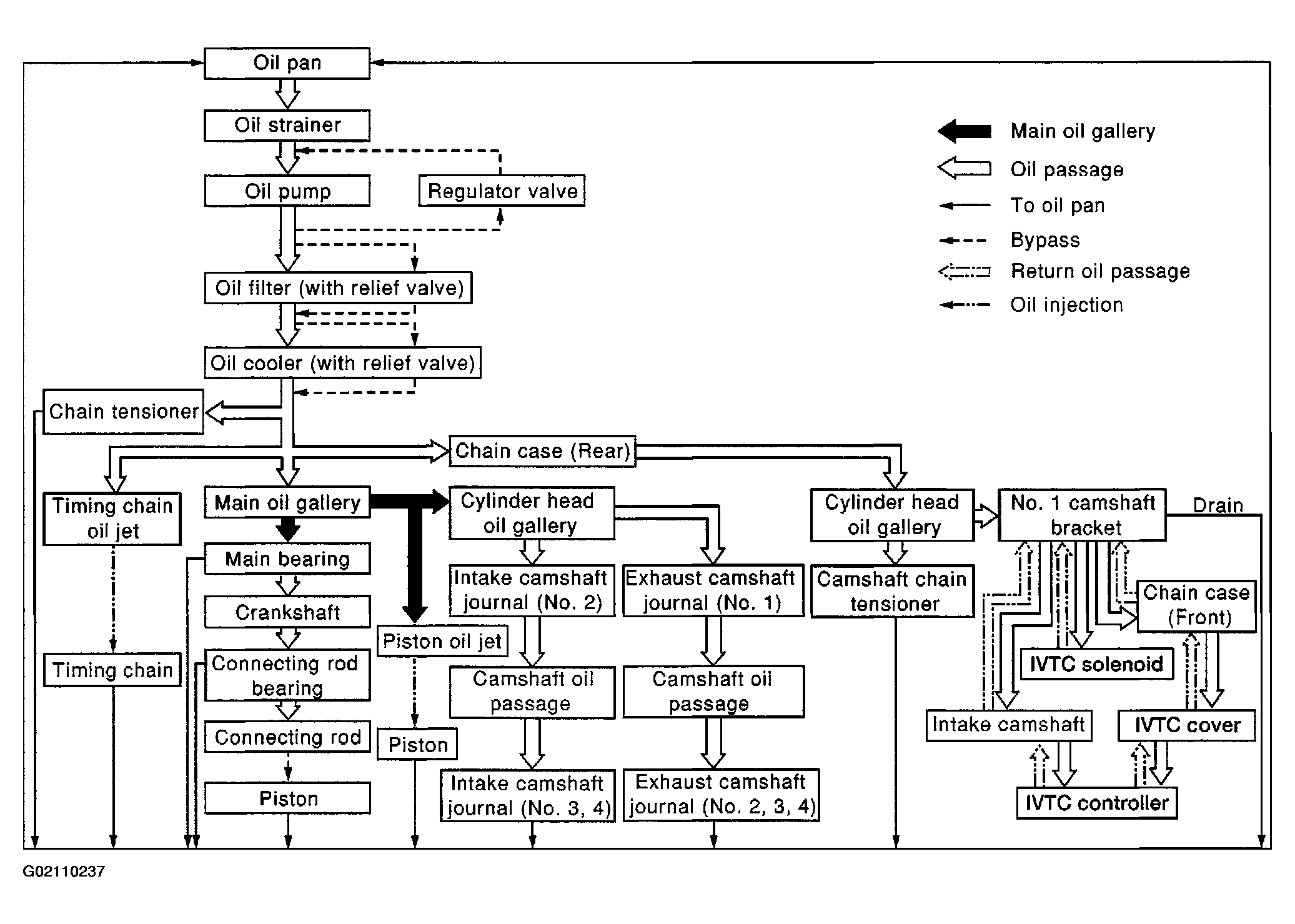
System Drawing

WARNING: This page is about a different car, the 2002 Nissan Altima. However, it is still accessible from the selected car via links, so may be relevant.
Fig 1: Lubrication System Drawing
G02110237Courtesy of NISSAN MOTOR CO., U.S.A.