LEMON Manuals: Even more car manuals for everyone: 1960-2025
Home >> Nissan-Datsun >> 2004 >> Sentra Base, Automatic >> Repair and Diagnosis >> External Pages >> Different car >> Section 1683 (Lighting System) >> Headlamp (For CANADA) - Daytime Light System - >> Daytime Light Control Does Not Operate Properly (Normal Headlamps Operate Properly)
April 5, 2026: LEMON Manuals is launched! Read the announcement.

Daytime Light Control Does Not Operate Properly (Normal Headlamps Operate Properly)

WARNING: This page is about a different car, the 2006 Nissan Pathfinder. However, it is still accessible from the selected car via links, so may be relevant.
  1. CHECK DAYTIME LIGHT RELAY 1 POWER SUPPLY CIRCUIT 
    1. Remove daytime light relay 1.
    2. Check voltage between daytime light relay 1 harness connector E103 terminals 2, 5 and ground.

      2, 5 - Ground: Battery voltage should exist. 

    Fig 1: Checking Voltage Between Daytime Light Relay 1 Connector E103 Terminals 2, 5 And Body Ground
    G04176906Courtesy of NISSAN MOTOR CO., U.S.A.

    OK or NG 

    OK: GO TO 2.

    NG: Repair harness or connector.

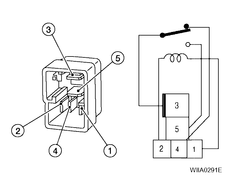
  2. CHECK DAYTIME LIGHT RELAY 1 
    1. Apply battery voltage to daytime light relay 1 terminal 2 and ground terminal 1.
    2. Check continuity between terminals 3 and 5.

      3 - 5: Continuity should exist. 

    Fig 2: Identifying Rear Power Drop Glass Down Relay Terminals
    G04176907Courtesy of NISSAN MOTOR CO., U.S.A.

    OK or NG 

    OK: GO TO 3.

    NG: Replace daytime light relay 1.

  3. CHECK INPUT SIGNAL 
    1. Connect daytime light relay 1.
    2. Start engine and release parking brake. Headlamp switch OFF.
    3. Select "IPDM E/R" on CONSULT-II. With data monitor, make sure "DTRL REQ" turns ON-OFF linked with operation of parking brake switch.

      Parking brake ON: DTRL REQ ON 

      Parking brake OFF: DTRL REQ OFF 

    Fig 3: CONSULT-II Display - DTRL REQ
    G04176908Courtesy of NISSAN MOTOR CO., U.S.A.

    OK or NG 

    OK: Replace IPDM E/R. Refer to "REMOVAL AND INSTALLATION OF IPDM E/R ".

    NG: GO TO 4.

  4. CHECKING CAN COMMUNICATIONS 

    Select "BCM" on CONSULT-II and perform self-diagnosis for BCM.

    Fig 4: CONSULT II Display - Self-Diag Results
    G04136115Courtesy of NISSAN MOTOR CO., U.S.A.

    Displayed self-diagnosis results 

    NO DTC: Replace BCM. Refer to "REMOVAL AND INSTALLATION ".

    CAN COMM CIRCUIT: Check BCM CAN communication system. Refer to "CAN COMMUNICATION INSPECTION USING CONSULT-II (SELF-DIAGNOSIS) ".