LEMON Manuals: Even more car manuals for everyone: 1960-2025
Home >> Nissan-Datsun >> 2004 >> Sentra SE-R Spec V >> Repair and Diagnosis (Single Page) >> External Pages >> Different car >> Section 1508 (Brake Control System) >> Brake Control System - HDC/HSA/VDC/TCS/Abs >> Trouble Diagnosis For Self-Diagnostic Items >> Steering Angle Sensor System >> Inspection Procedure
April 5, 2026: LEMON Manuals is launched! Read the announcement.

Inspection Procedure

WARNING: This page is about a different car, the 2005 Nissan Xterra. However, it is still accessible from the selected car via links, so may be relevant.
  1. CHECK SELF-DIAGNOSIS RESULT 

    Check self-diagnosis results.

    SELF-DIAGNOSIS RESULTS

    Self-diagnosis results
    ST ANGLE SEN CIRCUIT
    ST ANG SEN COM CIR

    Is above displayed in self-diagnosis item? 

    • YES: GO TO 2.
    • NO: Inspection End.
  2. CHECK CONNECTOR 
    1. Turn ignition switch OFF.
    2. Disconnect steering angle sensor connector M47 and ABS actuator and electric unit (control unit) connector E125 and check terminals for deformation, disconnection, looseness, or damage. Repair or replace as necessary.
    3. Reconnect connectors and repeat ABS actuator and electric unit (control unit) self-diagnosis.

    Is "ST ANGLE SEN CIRCUIT" or "ST ANG SEN COM CIR" displayed? 

    • YES: GO TO 3.
    • NO: Inspection End.
  3. CHECKING STEERING ANGLE SENSOR POWER AND GROUND 
    1. Turn ignition switch ON.
    2. Check voltage between steering angle sensor harness connector M47 and body ground.
      VOLTAGE SPECIFICATIONS

      Terminals  Measured value (Approx.) 
      (+)  (-) 
      Steering angle sensor connector  Terminal 
      M47  Ground  12V 
      12V 
      Fig 1: Checking Voltage Between Steering Angle Sensor Harness Connector M47 And Body Ground
      G03609188Courtesy of NISSAN MOTOR CO., U.S.A.
    3. Turn ignition switch OFF.
    4. Check resistance between steering angle sensor harness connector M47 and body ground.
      RESISTANCE SPECIFICATIONS

      Terminals  Measured value (Approx.) 
      (+)  (-) 
      Steering angle sensor connector  Terminal 
      M47  Ground  0Ω 
      Fig 2: Checking Resistance Between Steering Angle Sensor Harness Connector M47 And Body Ground
      G03609189Courtesy of NISSAN MOTOR CO., U.S.A.

    OK or NG 

    • OK: GO TO 4.
    • NG: Repair the circuit.
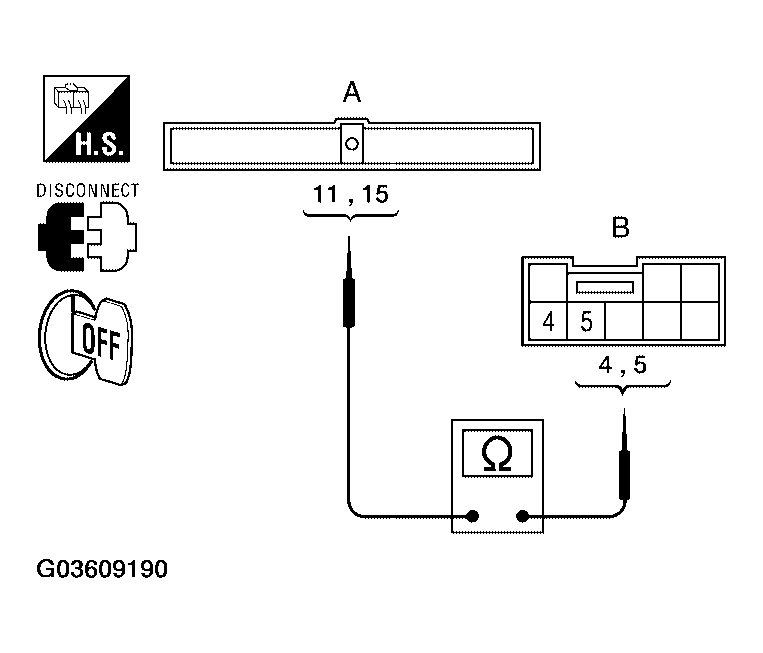
  4. CHECK STEERING ANGLE SENSOR HARNESS 
    1. Check CAN communication system. Refer to CAN COMMUNICATION SYSTEM DESCRIPTION .
    2. Disconnect steering angle sensor connector M47 and ABS actuator and electric unit (control unit) connector E125.
    3. Check continuity between ABS actuator and electric unit (control unit) connector E125 and steering angle sensor connector M47.
      CONTINUITY SPECIFICATIONS

      A B Continuity
      Connector Terminal Connector Terminal
      ABS actuator and electric unit (control unit): E125  11  Steering angle sensor: M47  Yes 
      ABS actuator and electric unit (control unit): E125  15  Steering angle sensor: M47  Yes 
      Fig 3: Checking Continuity Between ABS Actuator And Electric Unit (Control Unit) Connector E125 And Steering Angle Sensor Connector M47
      G03609190Courtesy of NISSAN MOTOR CO., U.S.A.

    OK or NG 

    • OK: GO TO 5.
    • NG: Repair or replace harness.
  5. CHECK STEERING WHEEL PLAY 

    Check steering wheel play. Refer to "CHECKING STEERING WHEEL PLAY ".

    OK or NG 

    • OK: GO TO 6.
    • NG: Adjust steering wheel play.
  6. CHECK DATA MONITOR 
    1. Connect steering angle sensor and ABS actuator and electric unit (control unit) connectors.
    2. Use "DATA MONITOR" to check if the status of "STR ANGLE SIG" is normal.
      DATA MONITOR DESCRIPTION

      Steering condition Data monitor
      Straight-ahead -3.5 deg to +3.5 deg
      Turn wheel to the right by 90° Approx. - 90deg
      Turn wheel to the left by 90° Approx. + 90deg

    OK or NG