LEMON Manuals: Even more car manuals for everyone: 1960-2025
Home >> Nissan-Datsun >> 2004 >> Sentra SE-R Spec V >> Repair and Diagnosis (Single Page) >> External Pages >> Different car >> Section 1976 (LAN System) >> Trouble Diagnoses Work Flow >> When Displaying CAN Communication System Errors >> Trouble Diagnosis Flow Chart
April 5, 2026: LEMON Manuals is launched! Read the announcement.

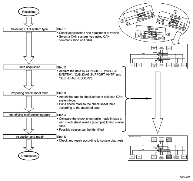
Trouble Diagnosis Flow Chart

WARNING: This page is about a different car, the 2006 Nissan Xterra. However, it is still accessible from the selected car via links, so may be relevant.

Depending on the control unit which performs CAN communication"U1010" may be indicated as the result of self-diagnosis. Replace the control unit if "U1010" is indicated.

Fig 1: Trouble Diagnosis Flow Chart
G04745910