LEMON Manuals: Even more car manuals for everyone: 1960-2025
Home >> Nissan-Datsun >> 2004 >> Sentra SE-R Spec V >> Repair and Diagnosis >> External Pages >> Different car >> Section 1979 (Audio, Visual, Navigation & Telephone System) >> Navigation System >> Removal and Installation >> NAVI Control Unit >> Removal
April 5, 2026: LEMON Manuals is launched! Read the announcement.

NAVI Control Unit: Removal

WARNING: This page is about a different car, the 2006 Nissan Titan. However, it is still accessible from the selected car via links, so may be relevant.
CAUTION: To avoid damage, eject map DVD-ROM before removing the NAVI control unit.
  1. Disconnect negative battery cable.
  2. Remove front passenger seat. Refer to "REMOVAL AND INSTALLATION ".
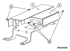
  3. Remove NAVI control unit kick shield screws (A).
  4. Remove NAVI control unit kick shield (1).
  5. Disconnect NAVI control unit connectors.
  6. Remove NAVI control unit screws (B).
    Fig 1: Identifying NAVI Control Unit
    G04757337
  7. Remove NAVI control unit (2).